출원번호 : 10-2016-0041891 (2016.04.05)
등록번호 : 10-18583350000 (2018.05.09)
특허권자 : 한남대학교산학협력단
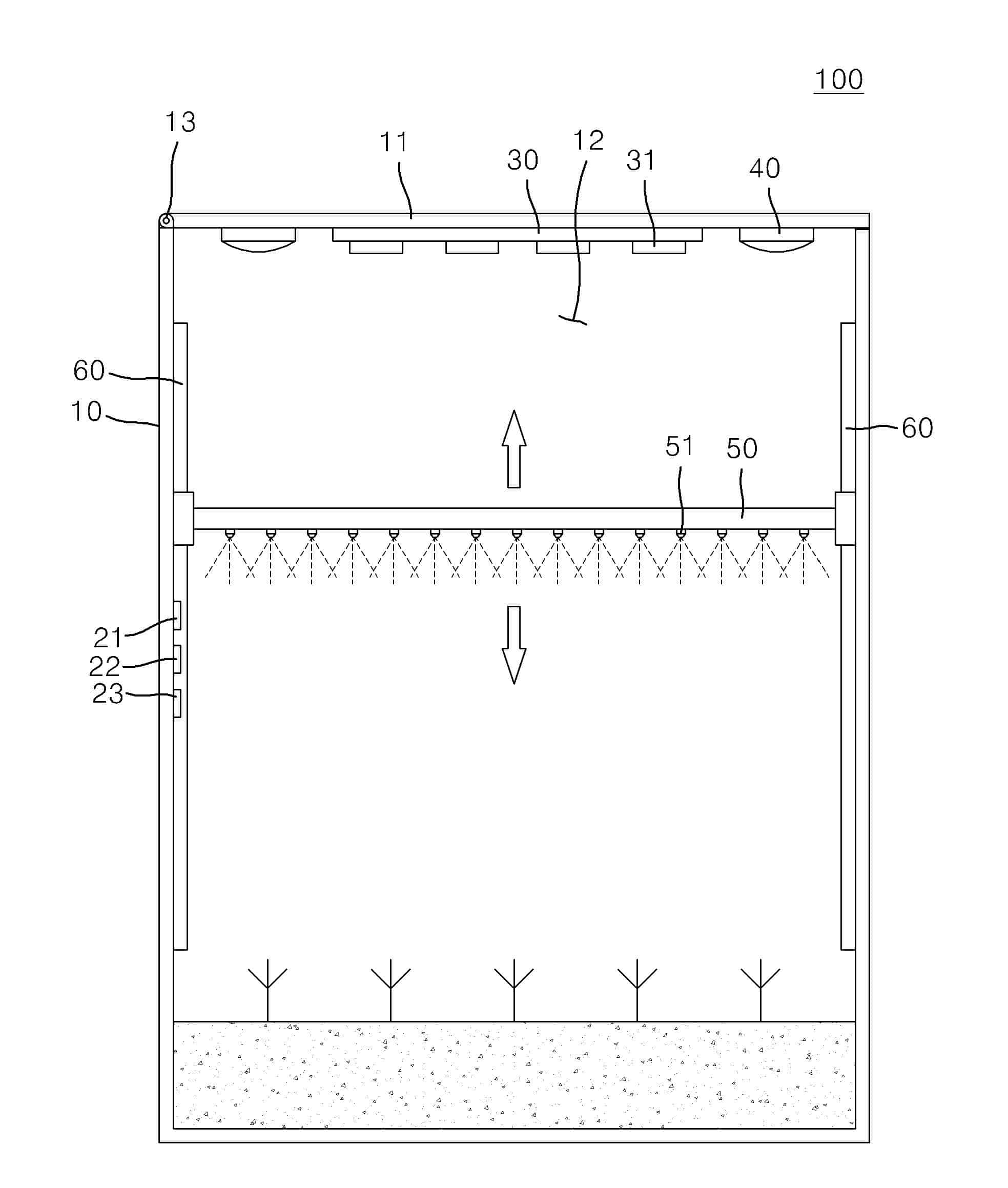
요약 : 본 발명은 스마트 미니 텃밭에 대한 것이다. 보다 상세하게는, 식물 재배공간을 구비할 수 있도록 한 본체; 상기 본체의 내부 하측에 배치되어 식물을 식재할 수 있도록 하는 재배상자; 상기 재배상자의 상측에 설치되어 상기 식물에 LED 조명을 조사하는 다수의 LED로 구성된 LED 점등부; 상기 재배상자 상측에 설치되어 상기 식물에 물을 분사하는 복수의 분사노즐을 갖는 공급호스가 구비된 물 공급부; 상기 본체 내의 온도, 습도, 조도값 중 적어도 어느 하나를 측정하는 측정부; 및 상기 측정부에서 측정된 값을 기반으로 식물의 생장에 필요한 환경정보를 생성하여, 상기 LED 점등부와 상기 물 공급부를 제어하는 제어부를 포함하여, 온도, 습도, 조도 등을 조절하여 4계절의 환경을 구현하고 그에 맞추어 식물을 가정에서 용이하게 재배할 수 있는 스마트 미니텃밭에 관한 것이다.
1020160041891




