출원번호 : 10-2014-0003324 (2014년01월10일)
등록번호 : 10-1595640 (2016년02월12일)
특허권자 : 한밭대학교
요약 : 본 발명은 이산화탄소-하이드레이트를 연속적으로 생성하고, 이를 이차유체로 이용하여 효율을 향상시킨 연속운
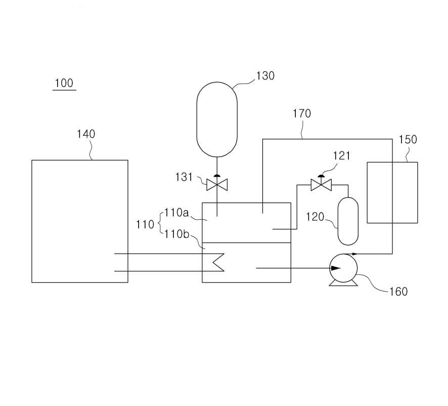
전형 이산화탄소-하이드레트 혼합물 이차유체 냉각 시스템을 제공하기 위한 것으로, 내부에 수용공간이 형성된
혼합물탱크; 상기 혼합물탱크에 이산화탄소를 공급하는 이산화탄소공급부; 상기 혼합물탱크에 물을 공급하는 물
공급부; 상기 혼합물탱크의 하부를 냉각시켜 이산화탄소-하이드레이트 슬러리를 생성하는 칠러; 상기 혼합물탱크
에서 생성된 이산화탄소-하이드레이트를 공급받아 상기 이산화탄소-하이드레이트와 외부 대상물을 열교환시켜 외
부 대상물을 냉각시키는 냉각부; 상기 혼합물탱크에서 생성된 이산화탄소-하이드레이트를 상기 냉각부로 공급하
는 펌프; 일단은 상기 혼합물탱크의 상부에 연결되고, 타단은 상기 냉각부에 연결되어 상기 냉각부를 통과한 이
산화탄소-하이드레이트를 상기 혼합물탱크로 회수하는 회수라인을 포함하며, 상기 회수라인을 통해 상기 냉각부
에서 외부대상물을 열교환시킨 후 해리된 이산화탄소-하이드레이트를 상기 혼합물탱크로 재공급하여 이차유체로
활용하면서 이산화탄소-하이드레이트를 연속적으로 생성하고, 상기 혼합물탱크의 내부압력(P)은 20~100 bar
이고, 탱크내 온도는 [수학식 1]을 만족하는 온도(T)보다 낮은 온도를 가지는 것을 특징으로 하는 연속운전형 이
산화탄소-하이드레이트 혼합물 이차유체 냉각 시스템을 제공한다.





