...
, ,

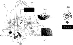
자동차 급발진 판단을 위한 차량제어 장치 및 그 방법 (Vehicle Control Device and Method for Determining Sudden Acceleration of a Vehicle)

판매 대리인 : 기율특허

전화번호 : 02-782-1004

메일주소 : kiyul@kiyul.co.kr

가격 : 5천만원 이상

자동차 급발진 판단을 위한 차량제어 장치 및 그 방법

← 뒤로

응답해 주셔서 감사합니다. ✨

출원번호 : 10-2023-0135253 (2023.10.11)

등록번호 : 10-26658270000 (2024.05.08)

요약 : 본 발명은 자동차 급발진 판단을 위한 차량제어 장치 및 그 방법에 관한 것이다.

1020230135253B1