출원번호 : 10-2015-0076092 (2015년05월29일)
등록번호 : 10-1580767 (2015년12월21일)
특허권자 : 박재우
요약 : 본 발명은 가축용 귀표 및 그의 제조방법에 관한 것으로서, 보다 상세하게는
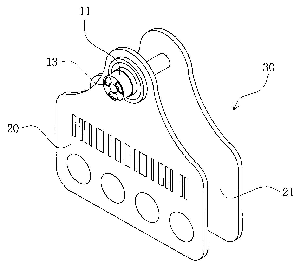
가축의 귀를 꿰뚫을 시 발생하는 피가 외부로 배출되는 다수의 배출구와, 관통핀이 걸리는 다수의 잠금턱은 클램프 금형 내부에 형성된 상부 코아와 하부 코아의 이동 작동과 언더컷 작용에 의해 클램프에 일체로 형성되도록 클램프 금형의 형폐에 의해 상부 코아와 하부 코아가 서로 형합되고, 상기 상부 코아의 작동에 의하여 클램프의 배출구와 잠금턱의 내측면 형상으로 형성되며, 상기 하부 코아에 의해 잠금턱 두께가 되는 외측면의 형상이 이루어지면서 클램프의 전체 형상으로 성형 된 후, 상기 클램프 금형 형개에 의하여 상부 코아와 하부 코아가 분리되면서 클램프는 자동 취출되고, 상기 클램프 내부에 끼워지는 관통핀은 관통핀 금형을 통하여 사출성형 됨과 함께 상기 클램프와 관통핀은 인서트 금형의 사출 성형 공정을 통하여 전면 및 후면 표시부와 일체로 생산되면서 종래의 생산방법과 비교했을 때 그 소요되는 부품 수를 크게 줄일 수 있고 금형 설비비 부담을 줄이면서 생산성을 크게 향상시켜 원가절감 및 품질향상을 이룰 수 있는 가축용 귀표 및 그의 제조방법에 관한 것이다.
가축용 이표자료 1020150076092





