출원번호 : 10-2016-0085371 (2016.07.06)
등록번호 : 10-18432660000 (2018.03.22)
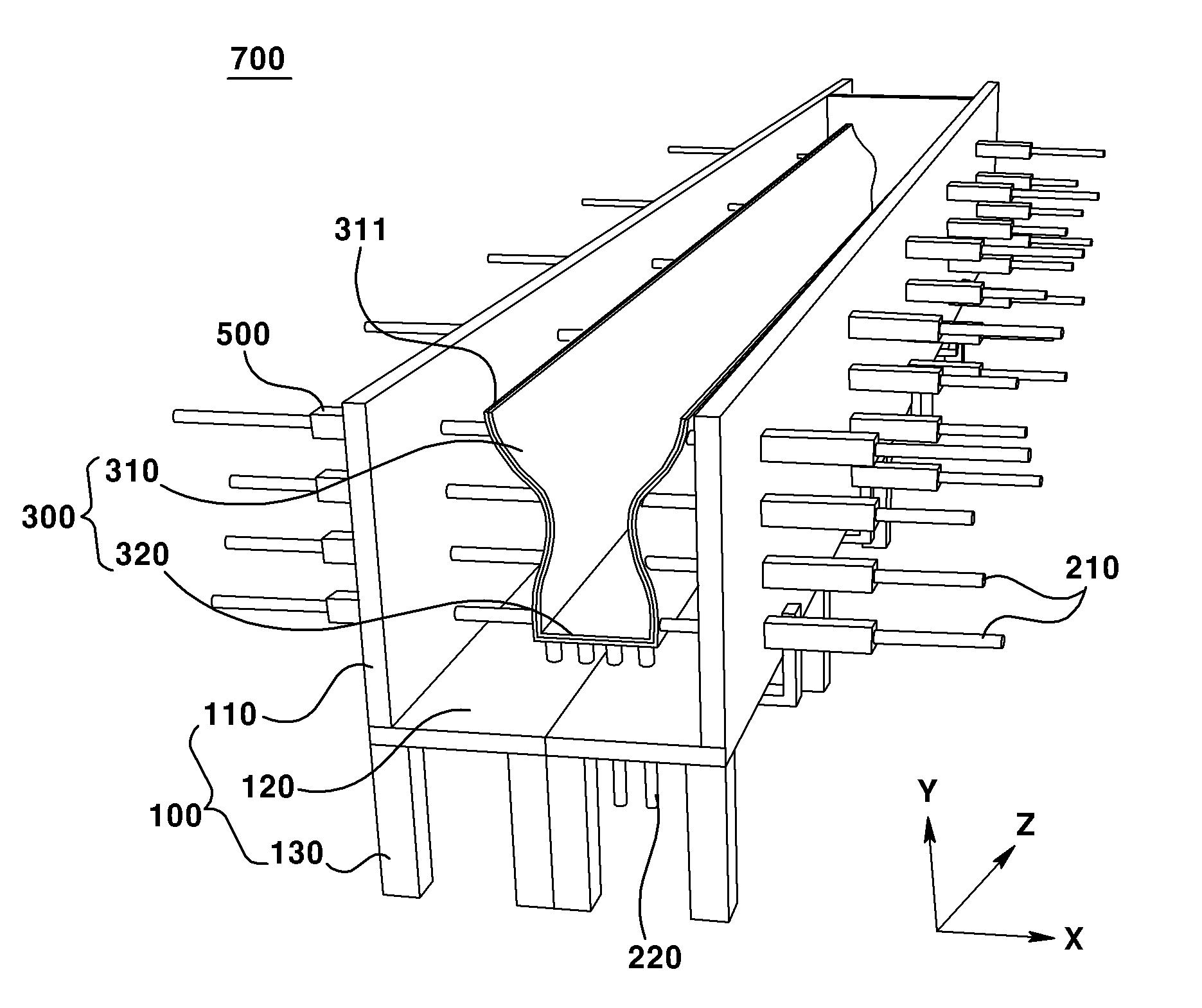
요약 : 본 발명은 거푸집 장치에 관한 것으로, 상면이 개방된 수납부재, 상기 수납부재에 의해 지지되며, 상기 수납부재를 관통하여 왕복운동되는 복수 개의 가압부재, 및 상기 수납부재의 내부에 배치되며, 상기 가압부재 중 상기 수납부재의 내부에 배치된 상기 가압부재의 단부와 접촉되며 상기 가압부재의 왕복운동에 의하여 가압되어 형상이 변형되는 탄성용기를 포함할 수 있다.





