출원번호 : 10-2018-0082860 (2018년07월17일)
등록번호 : 10-2078668 (2020년02월12일)
특허권자 : 이치영
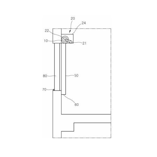
요약 : 본 발명은 수납함(24)이 구비되고, 상기 수납함(24)의 내부에는 셔터(10)를 권취할 수 있는 권취롤(22)과 상기 권취롤(22)을 회전시키기 위한 모터(21)를 포함하며, 창(80)의 상부에 설치되는 셔터수납수단(20); 상기 셔터수 납수단(20)으로부터 펼쳐져 나오는 셔터(10)를 가이드하는 레일(50); 화재 발생을 감지하는 센서(70); 상기 센서 (70)의 감지신호에 따라 상기 모터(21)를 구동시키는 제어부; 상기 셔터수납수단(20)의 내부에 수납되어 있다가 상기 센서(70)에 의해 화재 발생이 감지되면, 제어부의 신호에 의해 구동되는 상기 모터(21)의 구동에 의해 상기 수납함(24)으로부터 펼쳐져 나와 상기 레일(50)을 따라 펼쳐져 화재와 가스의 확산을 방지하는 셔터(10);를 포함 하는, 건물외벽 화재확산 방지 장치에 관한 것이다.
1020180082860




