출원번호 : 10-2013-0082251 (2013년07월12일)
등록번호 : 10-1462796 (2014년11월11일)
특허권자 : 한밭대학교
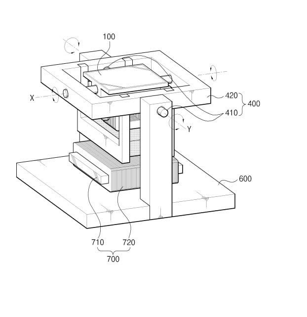
요약 : 본 발명은 레이저 빔을 반사하는 미러; 상기 미러가 상면에 안착되고, X축을 기준으로 회동하는 미러고정프레임;
상기 미러고정프레임의 하측에 고정결합되는 제1코일부; 내측면에 상기 미러고정프레임의 양단이 회동 가능하게
결합하는 중공 형상인 외측프레임; 상기 제1코일부의 하측과 이격되게 배치되며, 상기 외측프레임에 고정 결합되
는 자기력발생부; 상부면에 상기 외측프레임이 이격되게 위치하고, 상기 외측프레임이 Y축을 기준으로 회동 가능
하게 결합되는 몸체프레임; 및 상기 자기력발생부의 하측과 이격되게 배치되며 상기 몸체프레임 상면에 고정 결
합되는 제2코일부를 포함하되, 상기 제1코일부에서 발생되는 자기장과 상기 제1코일부의 하측에 위차하는 상기
자기력발생부에서 발생되는 자기장과의 작용으로 상기 미러고정프레임이 X축으로 회동하고, 상기 제2코일부에서
발생되는 자기장과 상기 자기력발생부에서 발생되는 자기장과의 작용으로 상기 외측프레임이 Y축으로 회동하는
것을 특징으로 하는 광 편향기를 제공한다.
본 발명에 따른 광 편향기에 의하면, 소형으로 제작될 수 있으면서도 내구성이 뛰어나고, 저 주파수에서 안정적
으로 작동이 가능함은 물론, 공진 주파수 이외의 주파수에서도 소정의 편향 각으로 레이저 빔을 편향시킬 수 있
다.





