출원번호 : 10-2021-0093485 (2021년07월16일)
등록번호 : 10-2401403 (2022년05월19일)
특허권자 : 곽태영, 심성보, 곽동철
특허권자 설명 : 해당 특허권은 통상사용권 설정만을 원하며, 이로 인한 로얄티를 지급받기를 희망합니다.
요약 :
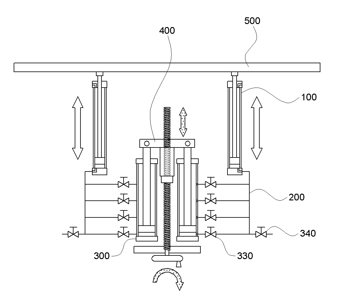
본 발명은 근력 운동을 위한 중량 발생 장치에 관한 것으로, 기존에는 운동기구에 사용되는 무거운 무게 추를 옮겨서 중량을 조절하는 불편이 발생하여 레버와 밸브 조절을 통해 진공압으로 중량이 발생되는 것을 특징으로 한다. 운동기구와 결합되어 상하 운동하는 제1실린더는 에어호스를 통해 제2실린더와 연결되며, 제1실린더, 에어호스 및 제2실린더의 내부 부피 조절을 통해 발생되는 중량이 쉽게 조절되는 것을 특징으로 하는 중량 발생 장치에 관한 것이다.
또한, 기존의 다양한 운동기구의 프레임에 적용이 가능하며, 접이식 운동기구에 적용하여 실내에서 이동 및 보관이 용이한 접이식 운동기구를 제안한다.
1020210093485




