...
,

넓은 범위 디밍을 위한 비대칭 단일 스테이지 LLC 공진형 컨버터(ASYMMETRIC SINGLE-STAGE LLC RESONANT CONVERTER FOR WIDE RANGE DIMMING)

판매 대리인 : 기율특허

전화번호 : 02-782-1004

메일주소 : kiyul@kiyul.co.kr

가격 : 가격협의

SKU: 한경대학교 산학협력단 카테고리: ,

출원번호 : 10-2018-0015094 (2018년02월07일)

등록번호 : 10-2016429 (2019년08월26일)

특허권자 : 한경대학교 산학협력단

요약 :

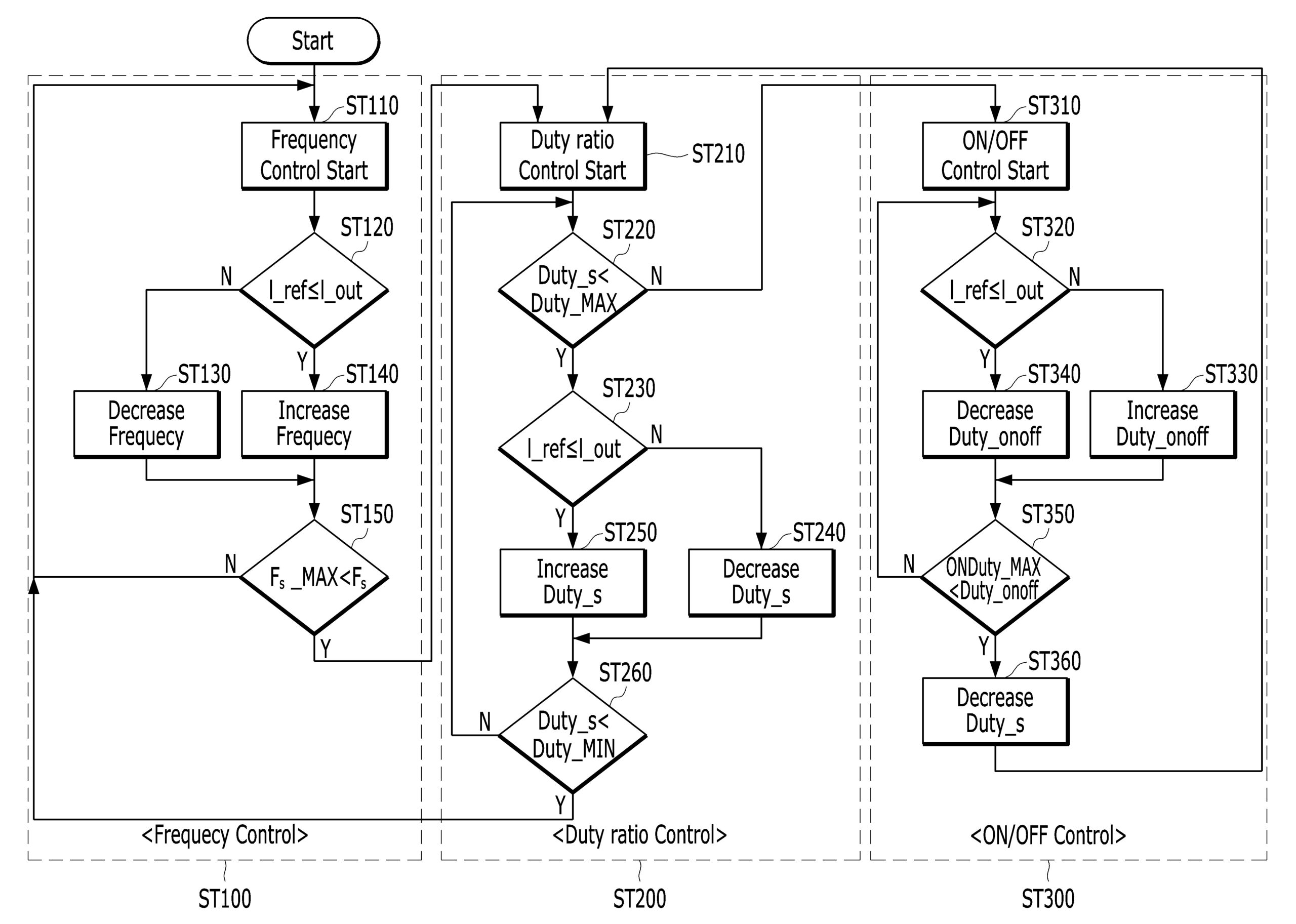
본 발명은 LED의 장점인 긴 수명성과 전력 및 광 효율이 높은 점을 충분히 발휘할 수 있도록 단일 스테이지 LLC 공진형 컨버터가 넓은 범위의 디밍 제어를 가능하게 하는 넓은 범위 디밍을 위한 비대칭 단일 스테이지 LLC 공진형 컨버터에 관한 것으로서, 상용전원의 정류 출력단에 설치되는 역률 보정용 인덕터와, 상기 역률 보정용 인덕터의 출력측에 설치되는 제1 스위칭소자 및 제2 스위칭소자와, 상기 제1 스위칭소자 및 상기 제2 스위칭소자 각각에 연결되는 제1 버스 커패시터 및 제2 버스 커패시터를 포함하는 역률 개선 회로부; 상기 역률 개선 회로부에 연결되어 공진 출력을 발생시키는 LLC 공진 회로부; 상기 공진 회로부의 출력을 정류하여 LED에 공급하는 출력 회로부; 및 상기 제1 스위칭소자 및 상기 제2 스위칭소자에 개별적으로 스위칭신호를 인가하는 제어부를 포함하는 단일 스테이지 LLC 공진형 컨버터에 있어서, 상기 제어부는, (a) 상기 제1 스위칭소자 및 상기 제2 스위칭소자에 스위칭 주파수가 제어된 PWM 신호를 인가하여 LED 부하에 공급되는 전류를 제어하는 스위칭 주파수 제어모드와, (b) 상기 제1 스위칭소자의 턴 온 시간과 상기 제2 스위칭소자의 턴 온 시간의 비에 해당하는 스위칭 듀티비를 비대칭으로 제어하는 스위칭 듀티비 제어모드와, (c) 상기 제2 스위칭소자의 온/오프 듀티비를 고정시키고 상기 제1 스위칭소자의 온/오프 듀티비만을 제어하는 온/오프 제어모드를 포함하며, 상기 스위칭 주파수 제어모드, 상기 스위칭 듀티비 제어모드, 및 상기 온/오프 제어모드 중 어느 하나의 제어모드로 동작하는 것을 특징으로 한다.

본 발명에 따르면, 비대칭 단일 스테이지 LLC 공진형 컨버터를 적용하여 스위칭소자의 개수를 줄이고 장치의 효율을 높이면서 버스 커패시터의 전압 스트레스를 줄일 수 있으며, PFC를 정상 범주에서 동작시키면서 스위칭 주파수 제어 영역, 스위칭 듀티비 제어 영역, 상단 스위칭소자의 ON/OFF 제어 영역을 결합하여 출력 이득을 조절함으로써 최대한 넓은 범위의 디밍 제어를 가능하게 함으로써, LED의 장점을 극대화 할 수 있고 LED의 디밍 범위를 최대한 넓게 할 수 있는 효과가 있다.

10-2016429