출원번호 : 10-2014-0142943 (2014.10.21)
등록번호 : 10-15688190000 (2015.11.06)
특허권자 : 군산대학교산학협력단
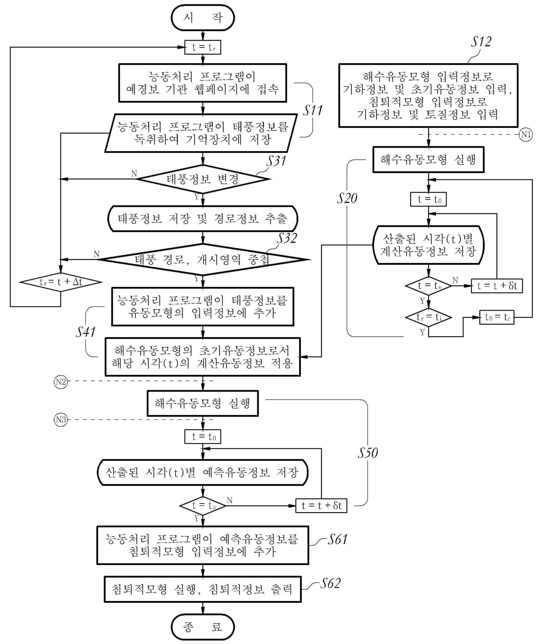
요약 : 본 발명은 조석 및 폭풍해일을 모의하는 ADCIRC(ADvanced CIRCulation)모형 등의 해수유동모형과, 연안 침퇴적을 모의하는 Xbeach모형 등의 침퇴적모형과, 펄(Perl) 또는 파이썬(Python) 등의 스크립트로 구축된 능동처리 프로그램을 이용하여, 태풍으로 인한 단기적 연안침식을 자동으로 예측하는 것으로, 해수유동모형을 상시 반복 가동하여 조석(潮汐)을 실시간 모의함과 동시에, 능동처리 프로그램이 미국 합동태풍경보센터(JTWC, Joint Typhoon Warning Center) 등의 태풍 예경보 기관에 접속하여 태풍정보를 능동적으로 독취하고, 독취된 태풍정보를 기반으로 태풍영향의 예측 필요성을 능동처리 프로그램이 판단하여 해수유동모형의 입력정보에 태풍정보를 추가한 후, 해수유동 및 그에 따른 연안 침퇴적을 자동 모의할 수 있도록 한 것이다.
1020140142943





