출원번호 : 10-2004-0013016 (2004년02월26일)
등록번호 : 10-0600313 (2006년07월05일)
특허권자 : 배재대학교 산학협력단
요약 :
1. 청구범위에 기재된 발명이 속한 기술 분야
본 발명은 다중 경로에 의하여 혼합된 독립적인 신호들을 신호에 대한 사전 정보 없이 분리하는 다중경로 다채널 혼합신호의 주파수 영역 블라인드 분리(Blind Source Separation)를 위한 방법 및 그 장치와 상기 방법을 실현시키기 위한 프로그램을 기록한 컴퓨터로 읽을 수 있는 기록매체에 관한 것임
2. 발명이 해결하고자 하는 기술적 과제
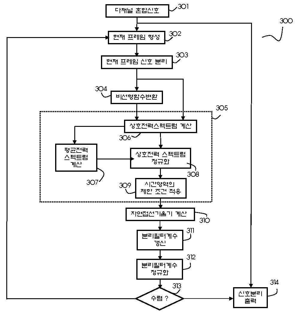
본 발명은 실제 소음 환경에서 다중 경로를 통해 혼합되어 여러 개의 센서(Sensor)를 통해 수집된 음성 및 오디오 신호들로부터 분리필터를 추정하여 원신호를 분리해내는 경우에, 분리필터의 빠른 수렴을 위해 적용되는 자연접선기울기를 주파수 영역에서 효과적으로 적용시킴으로써, 빠르고 안정적인 적응 분리회로를 구현할 수 있는 주파수 영역의 다중경로 다채널 블라인드 혼합신호 분리를 위한 장치 및 그 방법을 제공함.
3. 발명의 해결 방법의 요지
본 발명의 주파수 영역의 다중경로 다채널 블라인드 혼합신호 분리를 위한 장치는, 수집된 다채널 혼합신호를 주파수 영역에서 블록(Block) 단위로 분리하기 위해, 수집된 다채널 혼합신호로부터 여러 개의 블록들로 구성된 현재 프레임(Frame)을 형성하는 수단; 상기 현재 프레임의 신호를 주파수 영역에서 분리하는 수단; 상기 분리된 신호를 비선형함수를 통해 변환하는 수단; 상기 분리신호와 비선형 변환된 신호를 이용하여 정규화된 상호전력 스펙트럼(Cross-Power Spectrum)을 계산하는 수단; 상기 정규화된 상호전력 스펙트럼을 이용하여 자연접선 기울기를 계산하는 수단; 상기 자연접선 기울기를 이용하여 분리필터 계수를 갱신하는 수단; 상기 갱신된 분리필터계수를 정규화하는 수단; 상기 분리필터의 수렴을 점검하는 수단; 상기 분리필터가 수렴된 경우 분리필터를 이용하여 신호를 분리하는 수단을 포함함.
4. 발명의 중요한 용도
블라인드 신호분리 기술은 다중 마이크로폰 (Microphone) 어레이를 이용한 화자 추적, 열화된 신호의 음성인식이나 음질 향상을 위한 음성부호화기의 전 처리기, 3차원 객체지향 오디오 신호처리를 위한 신호 분리기, 스테레오 반향제거기(Stereophonic Echo Canceller), 통신 채널의 간섭제거, 도래각(Direction of Arrival) 추정이나 EEG나 MEG과 같은 생체신호 등에서 광범위하게 활용됨.
1020040013016





