출원번호 : 1020220090896 (2022.07.22)
등록번호 : 1025071090000 (2023.03.02)
등록권리자 : 김길영
특허증의 취지
일반적으로 원통형 구조체인 발전기는 두 가지 구성부품 구조로 이루어져 있는바, 그 중 외각구성품은 고정된 상태이고. 그
구성품의 원형 내부공간에는 회전동력을 제공하는 원동기(터빈)와 중심축을 공유하면서 그 중심축 표면에 결합되어있는 다른
구성부품이 한쪽 방향으로만 회전하는 원동기(터빈)로부터 회전동력을 제공받아 주어진 회전속도(동기속도)로 회전하면서 전기를
생산하게 된다. 이러한 방식이 현재의 화력발전소의 터빈식 발전기 시스템이다.
이에 비하여 본 발명방식에서는 위의 두 가지 원통형 발전기 구성부품들이 발명상의 구조물인 두 개의 바퀴회전체 사이에 위치하면서
양쪽 측면은 바퀴살과 연결된 상태이다. 중심축을 공유하지만 중심축은 회전하지 않으며 각개의 구성부품은 양쪽 반대방향으로 회전할
수 있게 되어 있으므로 바퀴회전체가 테두리부위에 투입된 회전동력으로 회전하게 되면 발전하여 전기를 생산하게 하는 발전기
시스템이다.
위의 두 가지 전기생산방식에서 가장 혁신적인 차이점은 주어진 회전운동의 회전속도(동기속도)를 절반으로 감속하여도 발전부위의
교차속도는 기존과 동일하게 유지할 수 있으므로 동일한 수준의 발전능력을 보유할 수 있다는 점이다,
이러한 감속차이점의 효과를 화석연료 소요량관점에서 보면, 기존의 화력발전에서 소요되는 화석연료의 연소 소비량도 절반수준으로
절약할 수 있음에 따라 기존과 동일한 소비량 연소일 경우에는 발전능력이 두 배로 커질 수 있다는 점이다.
위와 같은 효과현상을 국가전력 장기발전계획에 접목했을 경우, 새로운 신규 화력발전소 (원자력 발전소 포함) 건설을 증설함이
없이 기존 발전소의 발전기들의 교체 시공만으로도 연소가스의 추가적인 발생 없이 장기 국가전력계획의 조기달성이 가능할 뿐만
아니라 동시에 발전능력의 증가에도 불구하고 국가적인 온실가스감축목표 조기달성, 화석연료절감도 가능하게 될 것이다.
별첨 본 특허증 사본은 저압발전 산업용과 고압발전 발전소용으로 구분될 수 있다.
고압발전 다층교류발전기 특허에 대한 국제특허도 출원 획득하고 세계화시킨다면, 그 파급효과는 지대할 것이다, 이에 따른
수익(발전기 제작판매 + 로열티)발생은 물론 신기술 특허로 인한 국가적 위상제고에도 크게 기여될 수 있다고 본다.
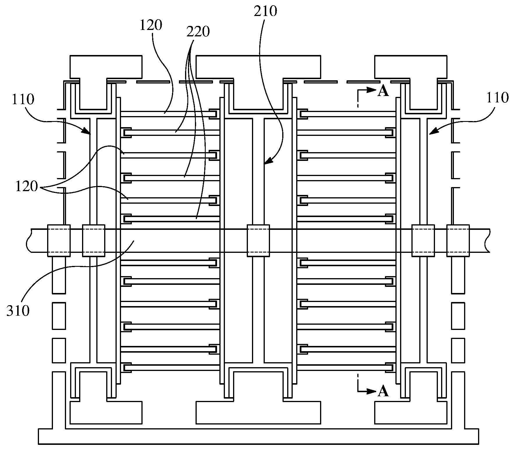
본 발명은 전기자 권선부와 계자 권선부의 교차 회전을 이용한 다층 교류 발전기에 관한 것으로서, 회전을 위한 축(shaft) 역할을 하는 중심축(310); 상기 중심축(310)에 구속되지 않도록 상기 중심축(310)에 회전 가능하게 삽입결합되는 제1회전체(110); 상기 중심축(310)에 구속되지 않도록 상기 중심축(310)에 회전 가능하게 삽입결합되되, 상기 제1회전체(110)와 미리 설정된 거리만큼 이격 배치되는 제2회전체(210); 전체적으로 원통관 형상을 하고 있으며, 반경(radius)을 서로 달리하여 다수 개가 제작되고, 상기 제1회전체(110)의 일측면에 상기 중심축(310)을 중심으로 다층으로 이격 장착되어 상기 제1회전체(110)와 함께 회전하는 제1다층원통관(120); 전체적으로 원통관 형상을 하고 있으며, 반경(radius)을 서로 달리하여 다수 개가 제작되고, 상기 제2회전체(210)의 일측면에 상기 중심축(310)을 중심으로 다층으로 이격 장착되되, 상기 제1다층원통관(120)과 반경이 서로 달라 맞닿지 않도록 겹쳐지면서 상기 제2회전체(210)와 함께 회전하는 제2다층원통관(220); 상기 제1다층원통관(120)의 표면에 장착되는 전기자 권선부(510); 및, 상기 전기자 권선부(510)와 이격되어 마주 보도록 상기 제2다층원통관(220)의 표면에 장착되는 계자 권선부(520);를 포함하며, 상기 제1회전체(110)와 상기 제2회전체(210)가 서로 반대 방향으로 회전하면서 발전(發電)이 이루어지는 것을 특징으로 한다.
1020220090896




