출원번호 : 10-2016-0024644 (2016년02월29일)
등록번호 : 10-1720216 (2017년03월21일)
특허권자 : 한밭대학교
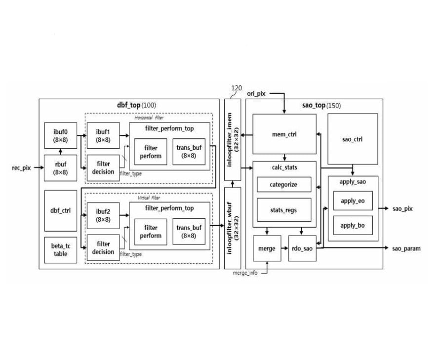
요약 : 루프 내 필터의 필터링 방법 및 루프 내 필터의 필터링 방법을 수행하는 장치가 개시된다. 루프 내 필터의 필터
링 방법은 디블록킹 필터가 복수의 제1 블록에 대한 디블록킹 필터링을 수행하는 단계와 SAO가 복수의 제1 블록
으로 구성된 제2 블록에 대한 오프셋 보정을 수행하는 단계를 포함할 수 있되, 디블록킹 필터는 복수의 제1 블록
각각을 분할할 제1 상위 분할 블록 및 제1 하위 분할 블록에 대한 병렬적인 필터링을 수행하고, SAO는 제2 블록
을 분할한 제2 상위 분할 블록 및 제2 하위 분할 블록 각각에 대한 병렬적인 오프셋 보정을 수행할 수 있다.





