출원번호 : 10-2016-0006600 (2016년01월19일)
등록번호 : 10-1778960 (2017년09월11일)
특허권자 : 명지대학교 산학협력단
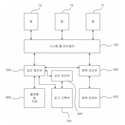
요약 : 본 발명은 모바일 단말의 보안 감시 시스템 및 이를 이용한 모바일 단말의 보안 감시 방법에 관한 것으로서, 모바일 단말에 설치된 앱에서 모바일 단말의 자원을 요청함에 따라 발생하는 시스템 콜을 수집하는 시스템 콜 인터 셉터; 상기 시스템 콜의 안전성을 정책으로 저장하고 있는 정책 관리부; 그리고 상기 시스템 콜 인터셉터에서 수집한 상기 시스템 콜을 전달받고, 상기 시스템 콜이 상기 정책 관리부에 저장된 상기 정책에 부합하는 지 여부를 판단하여, 시스템 콜이 정책에 부합하는 경우 해당 시스템 콜을 실행하여 상기 시스템 콜에서 요청하는 상기 모바일 단말의 자원을 추출하여 상기 시스템 콜을 발생한 해당 앱으로 자원을 전달하지만, 정책에 부합하지 않는 경우 해당 시스템 콜의 실행을 거부하는 보안 제어부;를 포함하는 것을 특징으로 한다. 이로 인해, 모바일 단말에 설치된 프로그램에서 모바일 단말의 자원에 접근하는 시스템 콜을 감시하여 모바일 단말의 정책의 적합 여부를 판단하여 해당 시스템 콜을 실행하거나 거부하는 제어를 수행함으로써, 모바일 단말의 자원을 보호하여 보안 성을 향상할 수 있다.
1020160006600





