출원번호 : 10-2015-0138151 (2015년09월30일)
등록번호 : 10-1787407 (2017년10월12일)
특허권자 : 명지대학교 산학협력단
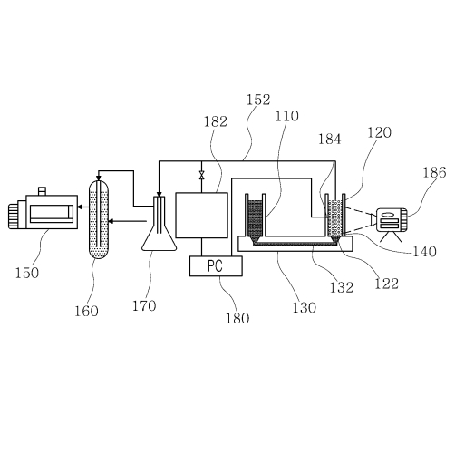
요약 : 본 발명은 미립화된 수용액 방울의 증발냉각을 이용한 미소유체 냉각장치에 관한 것으로, 간단하면서도 효율적인 냉각 디바이스를 이용함으로써 냉각 및 냉동을 위해 에너지 소비가 큰 외부 장치에 의존하지 않고도 냉각이 이루 어질 수 있도록 함에 그 목적이 있다. 이를 위해 구성되는 본 발명은 수용액 기반의 냉매가 충진되어 저장되는 용액 저장탱크; 용액 저장탱크로부터 공급된 냉매를 진공상태에서 미세한 액적으로 분산되도록 하는 미소유체 진공챔버; 용액 저장탱크와 미소유체 진공챔버를 연결하여 미소유체 진공챔버 내부의 진공시 용액 저장탱크에 저장된 냉매가 유동되도록 유로가 형성된 피펫관; 피펫관과 미소유체 진공챔버 사이에 형성되어 분사되는 공기제트를 통해 냉매를 미세액적으로 분산시키는 오리피스; 및 미소유체 진공챔버를 진공화시키는 진공펌프를 포함한 구성 으로 이루어진다.
1020150138151





