출원번호 : 10-2013-0085943 (2013.07.22)
등록번호 : 10-14828640000 (2015.01.08)
특허권자 : 군산대학교산학협력단
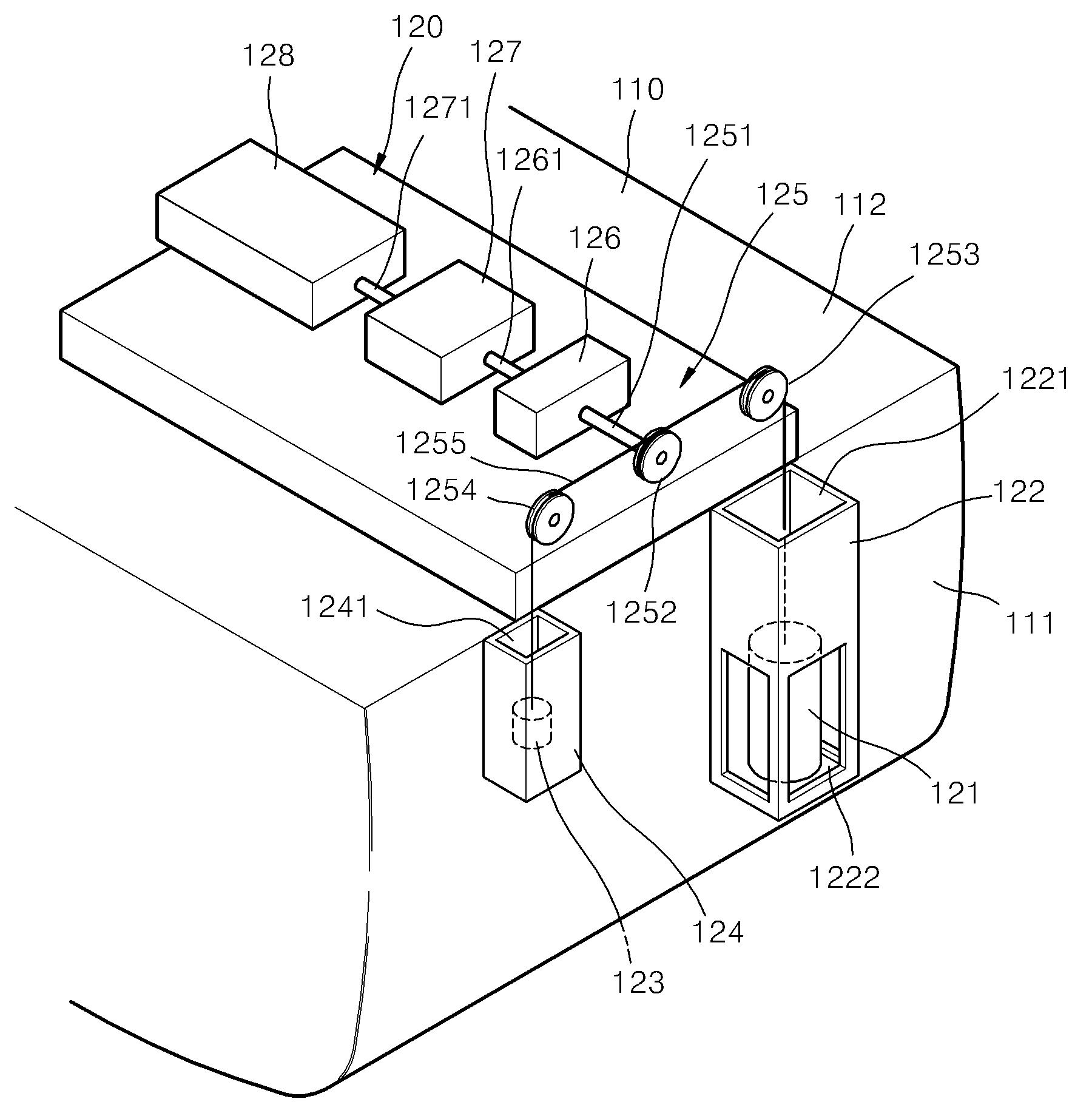
요약 : 더욱 상세하게는 바지선을 이용한 파력 발전 시스템에 관한 것이다. 본 발명에 의하면, 바지선; 및 상기 바지선에 설치된 파력발전장치를 포함하며, 상기 파력발전장치는 수위 변화에 따라 상하 직선왕복운동을 하는 부력체; 상기 부력체의 상하이동에 대응하여 상하 직선왕복운동을 하는 균형추; 상기 부력체와 상기 균형추의 상하 직선왕복운동을 양방향 회전운동으로 변환하는 운동 변환부; 및 상기 운동 변환부의 양방향 회전운동을 이용하여 전기를 생산하는 발전기를 구비하는 것을 특징으로 하는 바지선을 이용한 파력발전 시스템이 제공된다.
1020130085943





