출원번호 : 10-2014-0091104 (출원일: 2014-07-18)
등록번호 : 10-1659324 (등록일: 2016-09-19)
특허권자 : 충남대학교산학협력단
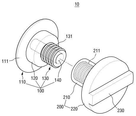
요약 : 본 발명은 일측이 반추위와 연결되고, 상기 반추위 내의 물질을 채취하기 위한 통공이 형성되는 누관 몸체; 및 상기 누관 몸체의 타측에 탈착 가능하게 결합되어 상기 통공을 개폐하는 누관 캡을 포함하고, 상기 누관 캡은 상기 누관 몸체의 타측에 나사 결합되는 반추동물용 반추위 누관에 관한 것이다.
대표청구항 : 일측이 반추위와 연결되고, 상기 반추위 내의 물질을 채취하기 위한 통공이 형성되고, 상기 반추위 내에 삽입되며 외측으로 연장 형성되고 걸림부를 구비하는 반추위 장착부를 포함하는 누관 몸체; 및 상기 누관 몸체의 타측에 탈착 가능하게 결합되어 상기 통공을 개폐하는 누관 캡을 포함하되,상기 걸림부는 상기 누관 본체의 상기 반추위로의 삽입방향의 이동을 용이하게 하기 위해 상기 삽입방향으로 돌출된 경사면 및 상기 경사면의 반대측에 상기 누관 본체의 상기 반추위로부터 이탈방향의 이동을 저지하는 걸림면을 포함하고,상기 누관 캡은 상기 누관 몸체의 타측에 나사 결합되는 반추동물용 반추위 누관.
상세링크 : http://newsd.wips.co.kr/wipslink/api/dkrdshtm.wips?skey=3516402000478





