벌통용 분무장치
출원번호 : 10-2017-0011871 (출원일: 2017-01-25)
등록번호 : 10-1929351 (등록일: 2018-12-10)
특허권자 : 충남대학교산학협력단
요약 : 본 발명은 벌통용 분무장치에 관한 것으로, 보다 상세하게는 저장부, 히터부 및 분무기로 이루어진 분무장치가 응애제거용 물질을 외부로 분무하기 때문에, 벌집 내 잔존하는 응애들을 박멸할 수 있으며, 나아가 분무장치가 필터, 컴프레샤 등을 구비하여 분무의 질이나 양이 보다 향상되어 빠르고 효과적으로 응애를 박멸할 수 있도록 그 효율이 증대된 벌통용 분무장치에 관한 것이다.
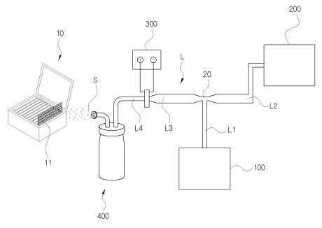
대표청구항 : 옥살산이 물에 용해되어 용액상태로 내부에 저장되는 저장부(100); 상기 저장부(100)의 옥살산 용액을 이송하는 이송라인(L);상기 이송라인(L)에 고압 공기를 주입하는 컴프레샤(200);상기 이송라인(L) 상에 형성되어, 상기 저장부(100)로부터 공급된 옥살산 용액을 가열하는 히터부(300); 및상기 히터부(300)에서 가열된 옥살산 용액을 외부로 분무하는 분무기(400);를 포함하며,상기 분무기(400)는,상면이 개방되되 내부에 공간이 형성된 결합프레임(430), 상기 결합프레임(430)의 상면에 탈착가능하게 결합되는 고정프레임(420) 및 상기 고정프레임(420)의 상면 일측에 배치되는 분무노즐(410)을 포함하여 이루어지며,상기 이송라인(L)은,상기 고정프레임(420)의 상면 타측을 관통하여 상기 결합프레임(430)의 내부로 인입되되, 상기 결합프레임(430)의 내부에서 수분라인(L6) 및 분무라인(L7)으로 분리되며,상기 수분라인(L6)은 하측으로 연장되도록 이루어지되, 상기 분무라인(L7)은 일측방향으로 분기되어 상측방향으로 휘도록 이루어져 상기 분무노즐(410)에 연결되며,상기 분사기(400)는,상기 고정프레임(420)의 상면 타측에 배치되는 수분필터(440)를 더 포함하여 이루어지되,상기 수분필터(440)는 상기 이송라인(L) 상에 형성되며,상기 수분필터(440)를 통해 필터링 된 수분은 상기 수분라인(L6)을 따라 결합프레임(430)으로 배출되고, 수분이 필터링된 옥살산은 상기 분무라인(L7)을 통해 상기 분무노즐(410)에 공급되는 것을 특징으로 하는 벌통용 분무장치.
상세링크 : http://newsd.wips.co.kr/wipslink/api/dkrdshtm.wips?skey=3518512000628





