...
,

비침습형 플라즈마 공정 진단 방법 및 장치

판매 대리인 : 기율특허

전화번호 : 02-782-1004

메일주소 : kiyul@kiyul.co.kr

판매특허요약 : 본 발명은 비침습형 플라즈마 공정 진단 방법 및 장치에 관한 것이다.

가격 : 없음

← 뒤로

응답해 주셔서 감사합니다. ✨

SKU: 충남대학교 산학협력단 카테고리: ,

비침습형 플라즈마 공정 진단 방법 및 장치

출원번호 : 10-2019-0132290 (출원일: 2019-10-23)

등록번호 : 10-2200662 (등록일: 2021-01-05)

특허권자 : 충남대학교산학협력단

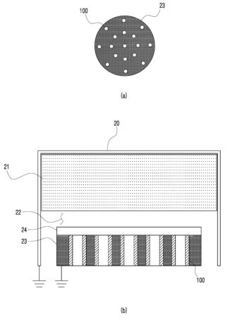
요약 : 본 발명은 표면파 공진 원리를 기반으로 플라즈마-쉬스(Plasma-sheath)에서 발생되는 표면파 공진 주파수를 측정하여 플라즈마 공정을 실시간으로 모니터링할 수 있는 비침습형 플라즈마 공정 진단 방법 및 장치에 관한 것이다. 본 발명에 따른 비침습형 플라즈마 공정 진단 방법은 정전척(ESC, Electrostatic Chuck)의 일측 또는 챔버의 내벽에 적어도 하나의 프로브를 설치하는 단계(S10), 상기 프로브를 이용하여 플라즈마 또는 쉬스에 고주파를 투사하는 단계(S20) 및 상기 프로브가 플라즈마 또는 쉬스로부터 반사되는 주파수를 검출하는 단계(S30)를 포함할 수 있다. 또한, 상기 프로브에서 검출된 주파수를 이용하여 주파수에 따른 반사 스펙트럼을 추출하는 단계(S40), 상기 프로브에서 검출된 주파수 또는 반사 스펙트럼을 이용하여 플라즈마-쉬스의 표면파 공진 주파수를 추출하는 단계(S50) 및 상기 표면파 공진 주파수를 토대로 플라즈마의 전자밀도 또는 균일도(uniformity)를 추출하는 단계(S60)를 포함할 수 있다.

대표청구항 : 챔버 내에 생성 또는 유입되는 플라즈마를 진단하는 비침습형 플라즈마 공정 진단 방법에 있어서,정전척(ESC, Electrostatic Chuck)의 일측에 적어도 하나의 프로브를 설치하는 단계(S10);상기 프로브를 이용하여 플라즈마 또는 쉬스에 고주파를 투사하는 단계(S20);상기 프로브가 플라즈마 또는 쉬스로부터 반사되는 주파수를 검출하는 단계(S30);상기 프로브에서 검출된 주파수를 이용하여 주파수에 따른 반사 스펙트럼을 추출하는 단계(S40);상기 프로브에서 추출된 주파수 또는 상기 반사 스펙트럼을 이용하여 플라즈마-쉬스의 표면파 공진 주파수를 추출하는 단계(S50); 및상기 표면파 공진 주파수를 토대로 플라즈마의 전자밀도 또는 균일도(uniformity)를 추출하는 단계(S60)를 포함하며,상기 프로브는 동축 케이블(Coaxial cable) 형상의 송수신 안테나로 구성되고, 상기 송수신 안테나의 크기는 동축 코어(Coaxial core)의 지름과 동축 페리페럴의 유전체 두께에 따라 결정되며, 상기 송수신 안테나의 크기가 작을수록 이상적인 표면파 공진 주파수와 측정되는 표면파 공진 주파수 간의 측정 오차(discrepancy)가 감소하는 것을 특징으로 하는 비침습형 플라즈마 공정 진단 방법.

상세링크 : http://newsd.wips.co.kr/wipslink/api/dkrdshtm.wips?skey=3521032001553