출원번호 : 1020170156424 (2017.11.22)
등록번호 : 1020019480000 (2019.07.15)
특허권자 : 엄희정
요약 :
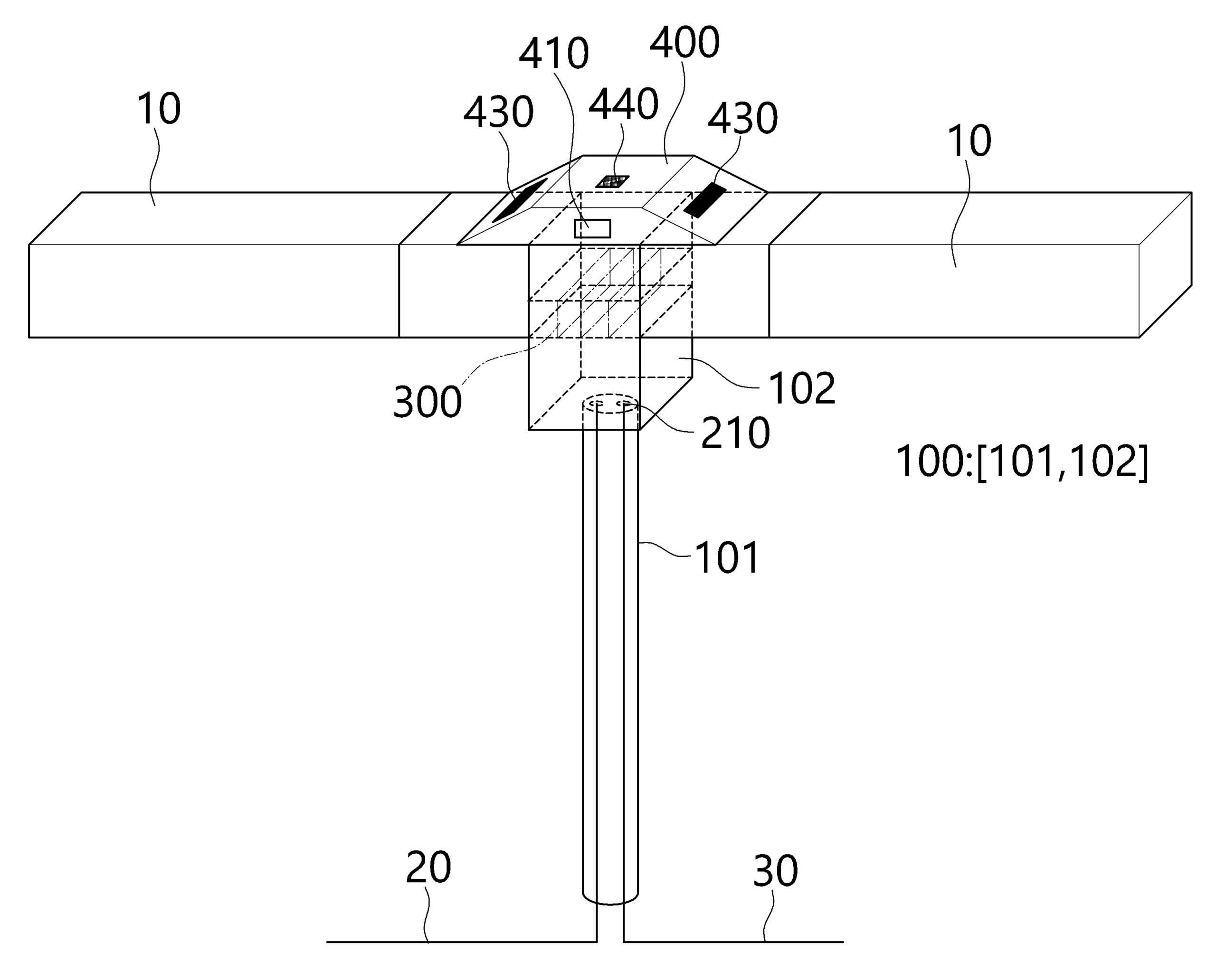
본 발명의 상수도 간이 수압 및 수질 모니터링 장치는 지하에 매설된 상수도관에서 분기된 검출관 및 외부 전력공급원으로부터 전원을 공급받기 위한 전원라인을 수용하는 보호모듈; 상기 검출관으로부터 전달받은 물의 수압을 측정하는 수압 센서; 상기 검출관으로부터 전달받은 물의 염소 농도를 측정하는 수질 센서; 상기 전원라인에 의하여 전원을 공급받고, 상기 수압 센서 및 상기 수질 센서로부터 수압 정보 및 수질 정보를 전달받아 외부로 출력하는 제어모듈; 및 보차도 경계석에 배치되어 상기 제어 모듈에서 출력된 정보를 디스플레이하는 표시모듈;을 포함한다.
1020170156424





