출원번호 : 10-2015-0028951 (2015.03.02)
등록번호 : 10-16721220000 (2016.10.27)
특허권자 : 군산대학교산학협력단
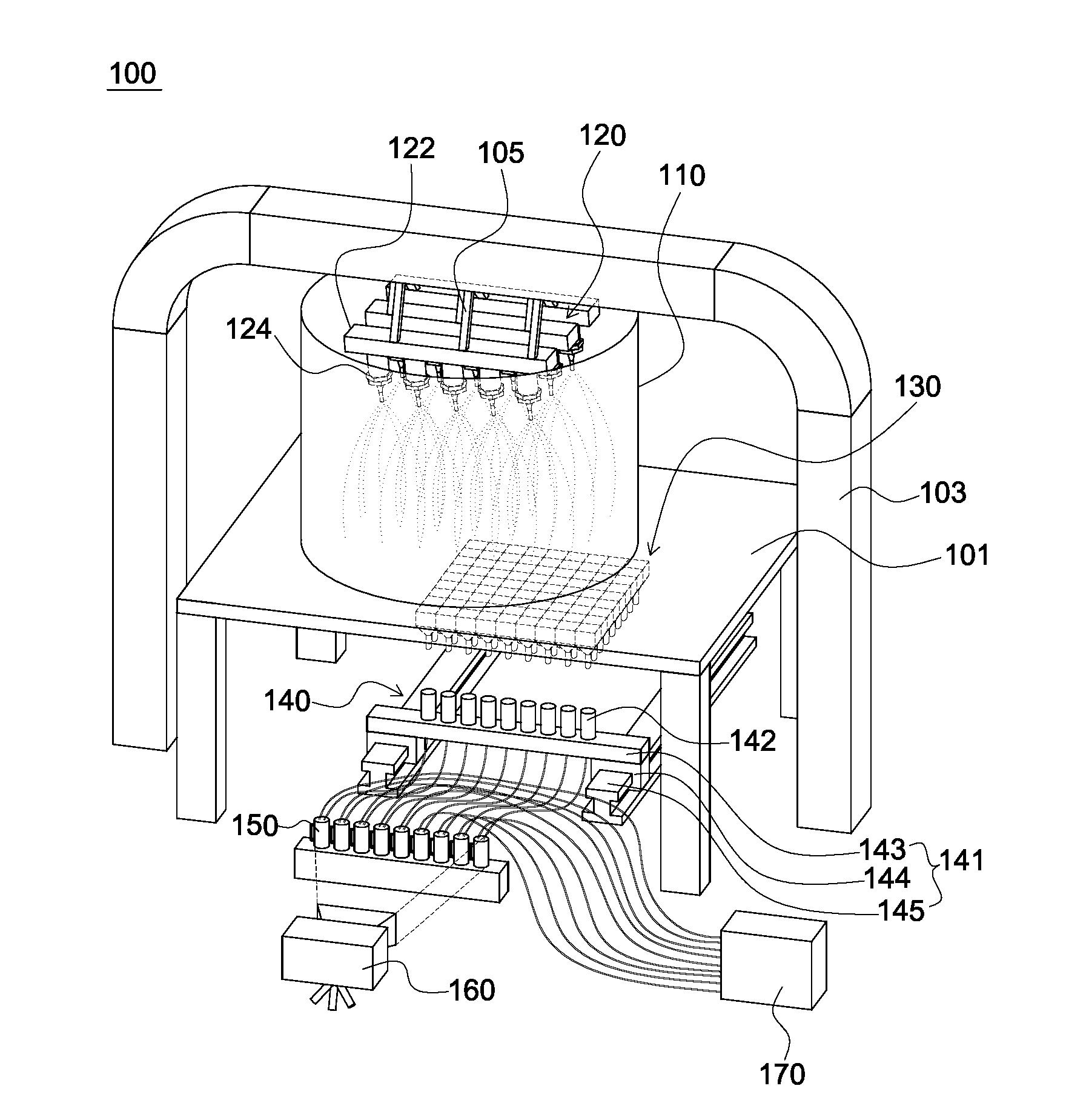
요약 : 본 발명의 실시 예들에 따른 액적균일도 측정장치의 진공트랩, 선박용 배기가스 정화장치의 액적균일도 측정장치 및 그 제어방법에 의하면 대면적의 선박용 배기가스 정화장치에 적용할 수 있는 액적균일도 측정장치를 제공할 수 있고, 분사되는 액체의 액적균일도 측정에 있어서 누락되는 면적없이 모든 부분의 액체를 수집하여 측정의 정확성을 높일 수 있다.
또한, 액적균일도 측정의 모든 과정을 자동화하여 작업의 편의성을 높이고 측정에 소요되는 비용과 시간을 절감할 수 있으며, 패터네이터를 모듈화하여 조립함으로써 설계자유도를 높이고 제작과 관리를 용이하게 수행할 수 있다.
1020150028951





