출원번호 : 10-2018-0111445 (2018년09월18일)
등록번호 : 10-2076070 (2020년02월05일)
특허권자 : 한밭대학교
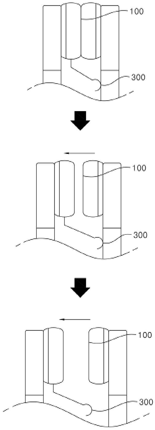
요약 : 복수의 접점을 가지는 릴레이가 개시된다. 제1접점(100); 및 제1접점(100)에 병렬 연결되는 제2접점(300)을 포함
하고, 제2접점(300)은 플렉시블한 탄소 소재로 구성된다. 따라서 접점에서 발생하는 아크 방전이 저감될 수
있고, 제1접점의 상태에 따라 제2접점을 온/오프 제어하여 제1접점을 보호할 수 있고, 제2접점의 제어 시간을 조
절하여 최적화할 수 있는 장점이 있고, 아크 방전에 의한 전류 경로를 형성하여 제1접점을 보호할 수 있다.





