출원번호 : 10-2017-0085026 (2017년07월04일)
등록번호 : 10-1932854 (2018년12월19일)
특허권자 : 명지대학교 산학협력단
요약 :
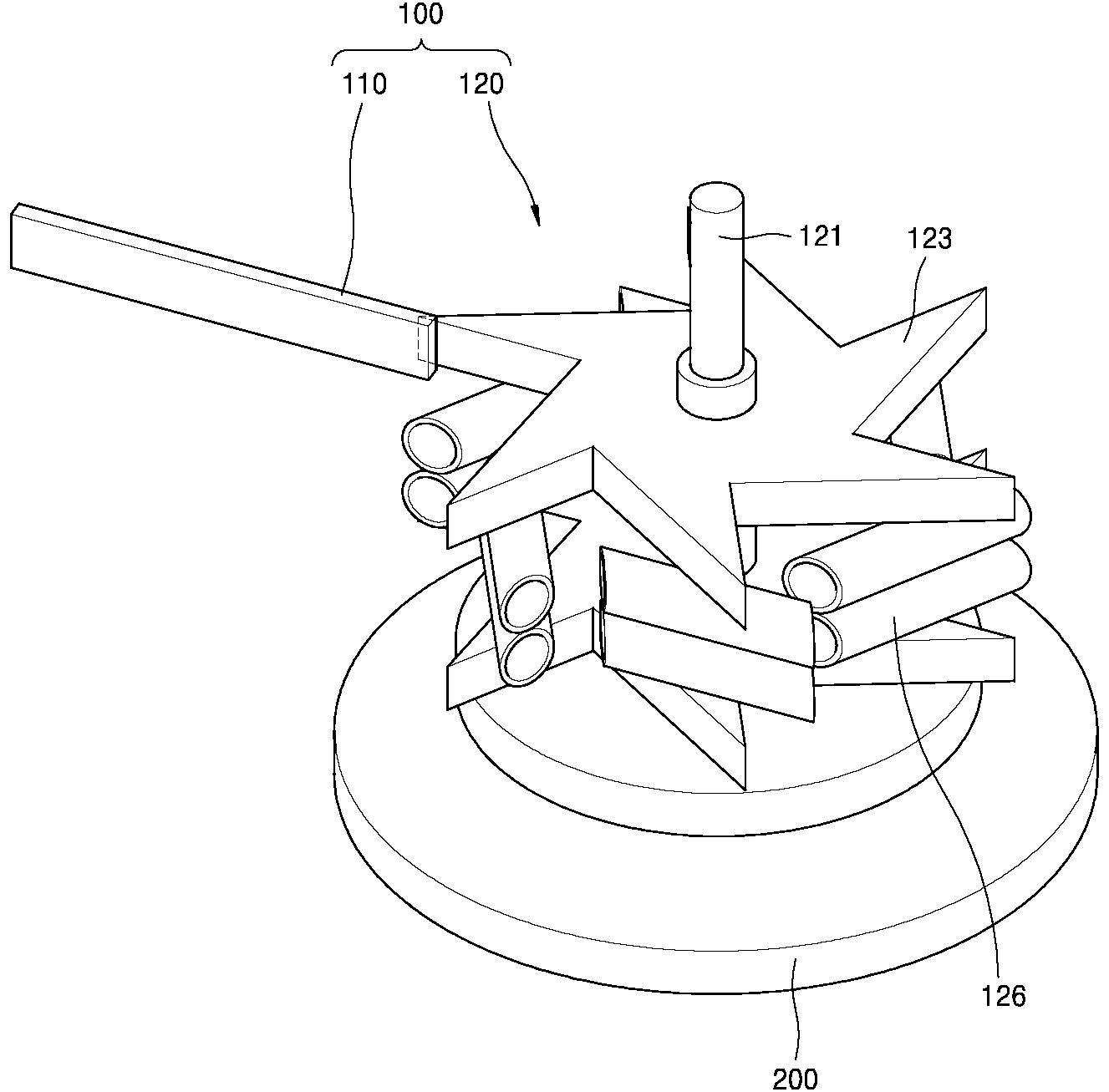
에너지 하베스팅 장치 및 방법이 개시된다. 에너지 하베스팅 장치는, 수용액을 포함하는 용기 내에 위치하며, 충격이 가해지면 압전 효과에 의하여 전기 에너지를 생성하는 압전소자 및 용기 내에 위치하며, 음파에 의하여 진동하는 미세버블(micro bubble)이 유발하는 마이크로 스트리밍(microstreaming)을 추진력으로 회전하여 충격을 가하는 회전체를 포함한다.





