출원번호 : 10-2019-0159979 (2019년12월04일)
등록번호 : 10-2248574 (2021년04월29일)
특허권자 : 한밭대학교
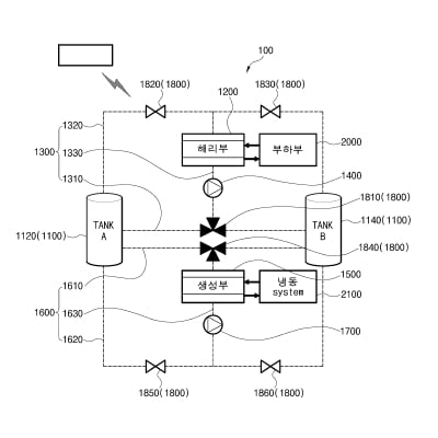
요약 : 본 발명은 이격되게 구비되며 생성된 하이드레이트 슬러리가 저장되는 복수개의 저장탱크; 상기 복수개의 저장탱
크에 저장된 하이드레이트 슬러리를 선택적으로 공급받으며, 공급된 하이드레이트 슬러리를 물과 이산화탄소로
해리시키는 해리부; 상기 복수개의 저장탱크와 상기 해리부를 선택적으로 연결하여 상기 해리부로 공급되는 하이
드레이트 슬러리를 이용하여 냉방을 수행하며, 상기 복수개의 저장탱크에 저장된 하이드레이트 슬러리를 상기 해
리부에 선택적으로 공급한 후 상기 해리부에서 해리된 물과 이산화탄소를 상기 복수개의 저장탱크로 선택적으로
공급하는 냉방라인부; 상기 냉방라인부에 구비되며, 상기 복수개의 저장탱크에 저장된 하이드레이트 슬러리를 상
기 해리부로 공급 및 상기 해리부에서 해리된 물과 이산화탄소를 복수개의 저장탱크로 공급하는 제1펌프; 상기
복수개의 저장탱크로부터 물과 이산화탄소를 선택적으로 공급받아 하이드레이트 슬러리를 생성하는 생성부; 상기
복수개의 저장탱크와 상기 생성부를 선택적으로 연결하여 상기 생성부로 공급되는 물과 이산화탄소를 이용하여
하이드레이트 슬러리를 생성하며, 상기 복수개의 저장탱크에 저장된 물과 이산화탄소를 상기 생성부로 선택적으
로 공급한 후 상기 생성부에서 생성된 하이드레이트 슬러리를 상기 복수개의 저장탱크로 선택적으로 선택적으로
공급하는 충진라인부; 상기 충진라인부에 구비되며 상기 복수개의 저장탱크에 저장된 물과 이산화탄소를 상기 생
성부로 공급 및 상기 생성부에서 생성된 하이드레이트 슬러리를 상기 복수개의 저장탱크로 공급하는 제2펌프; 상
기 냉방라인부와 상기 충진라인부에 구비되며 상기 복수개의 저장탱크와 상기 해리부 및 상기 생성부의 연결을
선택적으로 개폐시키는 밸브부; 및 상기 밸브부의 개폐를 제어하는 제어부를 포함하는 연속운전형 하이드레이트
슬러리 냉방 시스템을 제공한다.
따라서, 하이드레이트 슬러리를 연속적으로 생성하고 이를 이용하여 외부 대상물을 냉각시킬 수 있어 냉각 효율
을 향상시킬 수 있고, 외부 대상물을 냉각 시 소진되는 하이드레이트 슬러리를 사용함과 동시에 생성한 후 충진
시킬 수 있어 연속운전이 가능해진다.
1020190159979_교정됨





