...
, ,

영양액 분사식 헤어드라이어 (Essence spraying type hair dryer)

3,500,000

판매 대리인 : 기율특허

전화번호 : 02-782-1004

메일주소 : kiyul@kiyul.co.kr

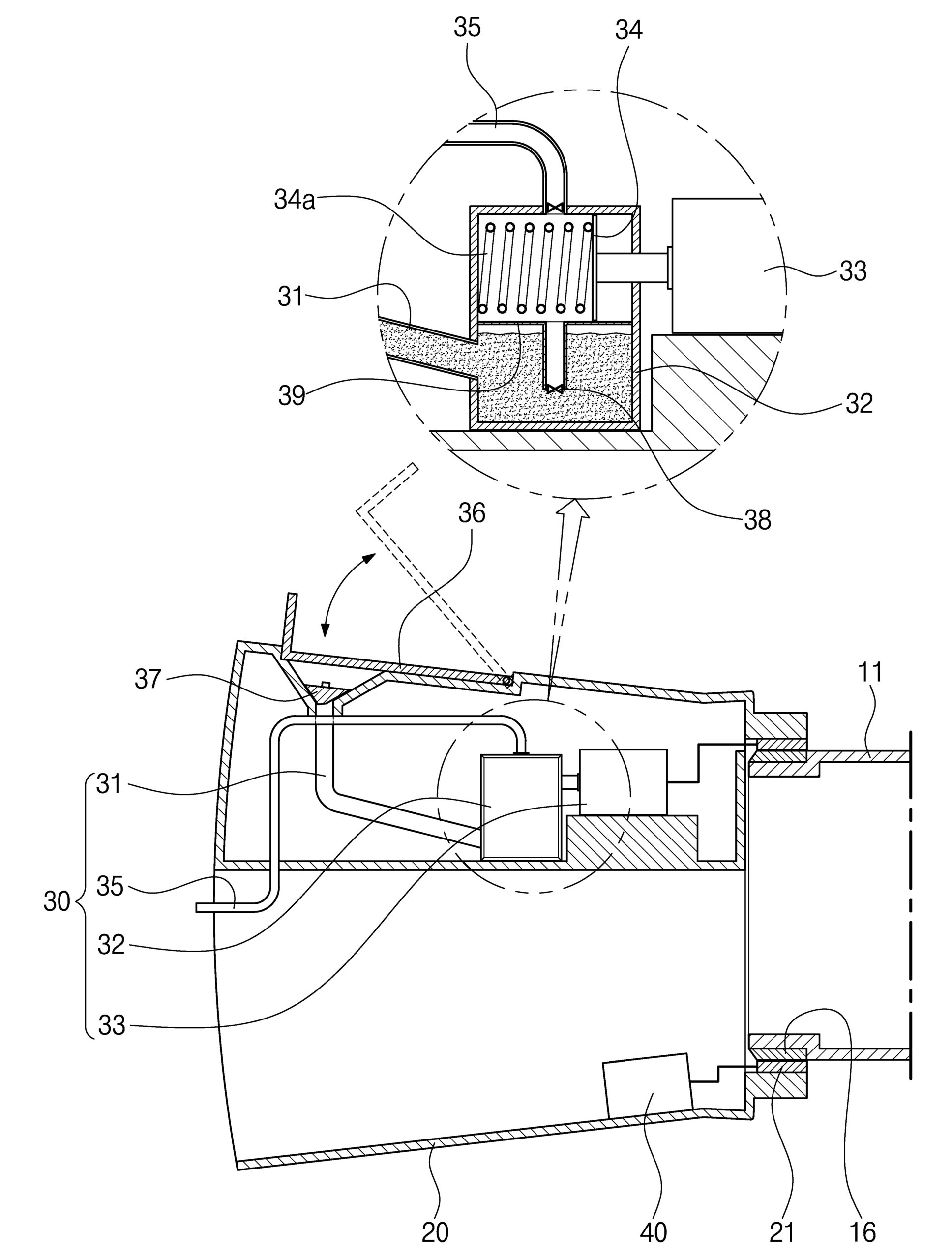
본 발명은 헤어에센스를 손에 묻히지 않고도 토출되는 풍량을 이용하여 모발에 도포함과 동시에 모발을 건조시킬 수 있고 헤어에센스가 미세액적 형태로 분사되어 두피에 닿지 않고 모발에만 도포되도록 함으로써 두피를 보호할 수 있으며 두피의 진동마사지를 통해 두피관리오일이 두피에 효과적으로 투입될 수 있도록 한 영양액 분사식 헤어드라이어에 관한 것이다.

본 발명의 바람직한 일 실시 예에 따른 영양액 분사식 헤어드라이어는 전방에는 토출구가 구비되고 하부에는 손잡이가 구비되며 상기 손잡이에는 작동버튼, 분사선택버튼, 진동마사지선택버튼이 구비되며 상기 작동버튼의 가압시에 상기 토출구로 풍량을 토출시키는 드라이어본체와, 상기 드라이어본체의 토출구 측에 착탈 및 전원연결 가능하게 결합되는 영양액분사노즐과, 상기 영양액분사노즐의 내부 상측에 설치되고 상기 분사선택버튼의 작동시에 내부에 투입된 영양액을 영양액분사노즐의 전방으로 분사시키는 영양액분사수단과, 상기 영양액분사노즐의 내부 하측에 설치되고 상기 진동마사지선택버튼의 작동시에 진동을 발생시키는 진동모터가 포함된다.

가격 : 350만원

← 뒤로

응답해 주셔서 감사합니다. ✨

SKU: 신한대학교 산학협력단 카테고리: , ,

출원번호 : 10-2018-0080338 (2018.07.11)

등록번호 : 10-20246580000 (2019.09.18)

등록권리자 : 신한대학교 산학협력단

본 발명은 헤어에센스를 손에 묻히지 않고도 토출되는 풍량을 이용하여 모발에 도포함과 동시에 모발을 건조시킬 수 있고 헤어에센스가 미세액적 형태로 분사되어 두피에 닿지 않고 모발에만 도포되도록 함으로써 두피를 보호할 수 있으며 두피의 진동마사지를 통해 두피관리오일이 두피에 효과적으로 투입될 수 있도록 한 영양액 분사식 헤어드라이어에 관한 것이다.

본 발명의 바람직한 일 실시 예에 따른 영양액 분사식 헤어드라이어는 전방에는 토출구가 구비되고 하부에는 손잡이가 구비되며 상기 손잡이에는 작동버튼, 분사선택버튼, 진동마사지선택버튼이 구비되며 상기 작동버튼의 가압시에 상기 토출구로 풍량을 토출시키는 드라이어본체와, 상기 드라이어본체의 토출구 측에 착탈 및 전원연결 가능하게 결합되는 영양액분사노즐과, 상기 영양액분사노즐의 내부 상측에 설치되고 상기 분사선택버튼의 작동시에 내부에 투입된 영양액을 영양액분사노즐의 전방으로 분사시키는 영양액분사수단과, 상기 영양액분사노즐의 내부 하측에 설치되고 상기 진동마사지선택버튼의 작동시에 진동을 발생시키는 진동모터가 포함된다.

1020180080338