출원번호 : 10-2015-0190649 (출원일: 2015-12-31)
등록번호 : 10-1751428 (등록일: 2017-06-21)
특허권자 : 충남대학교산학협력단
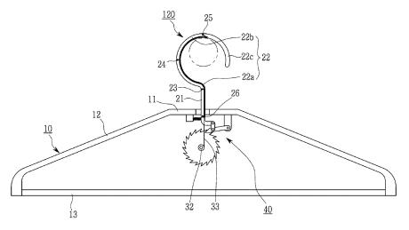
요약 : 본 발명은 따른 옷걸이에 관한 것으로 옷이 걸리는 형상으로 형성된 옷걸이 몸체부, 상기 옷걸이 몸체부의 상부로 돌출되며 옷걸이 봉에 걸리며, 회전 가능하게 결합된 적어도 두 개의 몸체로 분리되는 후크부, 상기 후크부의 몸체를 회전 가능하게 하고, 회전된 몸체를 원위치로 복귀시키는 후크 작동부를 포함하여 옷걸이 봉에 걸린 후크부의 방향과 관계없이 옷걸이 봉에 걸거나, 옷걸이 봉에서 꺼낼 수 있어 사용 시 편의성을 향상하며, 가정집에서 뿐만 아니라 특히, 대량의 옷들이 진열되는 의류매장, 패션쇼를 위해 여러 옷을 보관하고 필요할 때 신속하게 꺼내고 보관해야 하는 패션 업계, 손님들의 옷들을 자주 걸고 꺼내야 하는 세탁소 등에서 다수의 옷걸이를 옷걸이 봉에 걸거나, 옷걸이 봉에서 꺼낼 때 편의성을 크게 향상해 사용자의 만족도를 향상하며, 옷걸이의 상품성을 크게 향상시킴은 물론 옷걸이에 대한 새로운 수요를 발생시킨다.
대표청구항 : 옷이 걸리는 형상으로 형성된 옷걸이 몸체부;상기 옷걸이 몸체부의 상부로 돌출되며 옷걸이 봉에 걸리며, 회전 가능하게 결합된 적어도 두 개의 몸체로 분리되는 후크부; 및상기 후크부의 몸체를 회전 가능하게 하고, 회전된 몸체를 원위치로 복귀시키는 후크 작동부;를 포함하며,상기 후크 작동부는,상기 후크부의 내부를 관통하여 상기 후크부의 회전되는 몸체 중 가장 단부 측에 위치한 몸체에 고정되는 작동줄부재;상기 옷걸이 몸체부에 회전 가능하게 설치되며 상기 작동줄부재가 감기는 릴부재; 및 상기 릴부재를 상기 작동줄부재가 감기는 방향으로 탄성지지하는 탄성체;를 포함하는 것을 특징으로 하는 옷걸이.
상세링크 : http://newsd.wips.co.kr/wipslink/api/dkrdshtm.wips?skey=3517264000465





