출원번호 : 10-2014-0057142 (2014.05.13)
등록번호 : 10-15602150000 (2015.10.07)
등록권리자 : IP뱅크
본 발명은 다방향 멀티캠 방식을 구비하는 피어싱 장치에 관한 것으로, 목적은 캠블록내에서 서로 다른 방향으로 피어싱펀치가 동시 작동 및 리턴되어 피가공물에 피어싱가공을 수행하도록 하여, 좁은 각도 및 좁은공간내에서의 피어싱 작업을 원활하게 수행할 수 있는 다방향 멀티캠 방식을 구비하는 피어싱 장치를 제공하는 것이다. 또한 본 발명은 다방향 피어싱 작업에서 좌우의 피어싱 작업의 각도가 서로 다르게 작업을 할 경우에도 적용을 할 수 있는 방식을 포함한다.
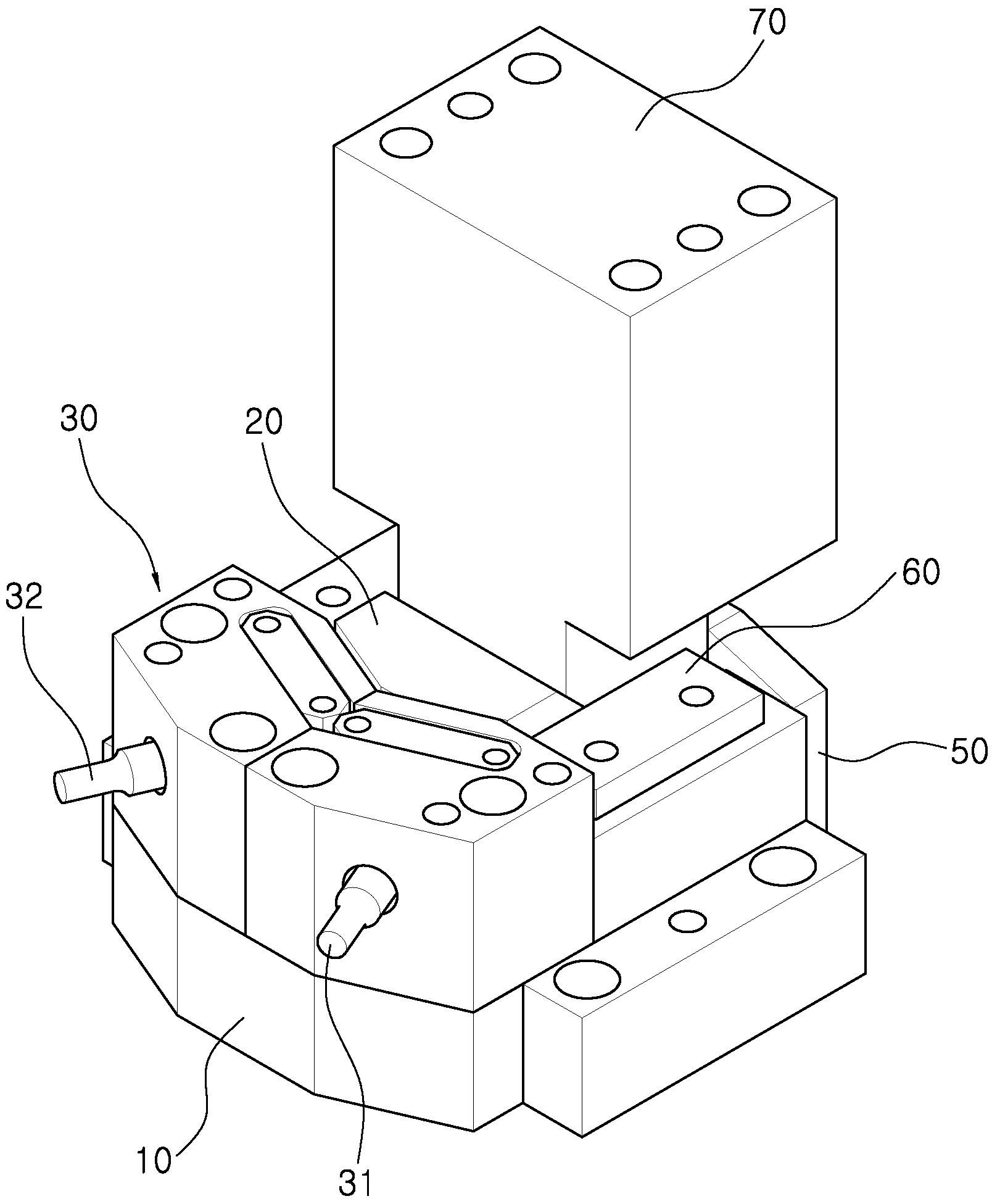
본 발명은 하형에 고정설치되는 캠베이스와, 캠베이스 상에 슬라이딩되도록 설치되고 작동경사면을 구비하는 캠푸시블록과, 캠베이스의 선단 상부면에 고정설치되고, 내부에 위치하는 제1,2 피어스펀치가 캠푸시블록에 의해 서로 다른 방향으로 동시에 작동되는 펀치유니트와, 캠베이스와 캠푸시블록 사이에 위치하도록 캠베이스의 스프링설치홀내에 설치되어 캠푸시블록이 후단방향으로 이동되도록 탄성력을 구비하는 리턴스프링부와, 캠베이스의 후단에 고정설치되어 캠푸시블록의 슬라이딩범위를 제한하는 스토퍼와, 캠푸시블록의 날개 상측에 위치하도록 캠베이스의 일측에 볼트결합되어 캠푸시블록의 이탈을 방지하는 가이드플레이트와, 캠푸시블록의 작동경사면과 접촉되면서 미끄러지는 구동경사면을 구비하고 상형에 연결설치되는 캠드라이브를 포함한다.
1020140057142





