출원번호 : 1020170134034 (2017.10.16)
등록번호 : 1018682890000 (2018.06.08)
특허권자 : 신승민
요약 :
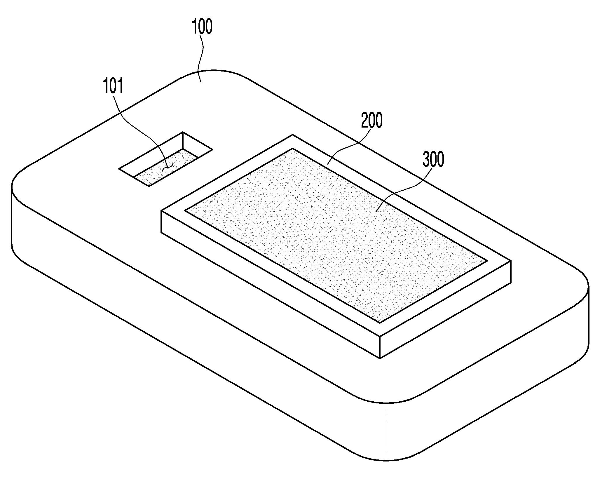
본 발명은, 이동단말기를 감싸 보호하는 함 형태의 이동단말기용 케이스, 상기 이동단말기용 케이스의 배면 외측에 위치하여, 보조배터리가 수용되는 공간을 형성하기 위한 보조배터리용 케이스, 상기 이동단말기용 케이스의 내측면에 배치되어, 상기 이동단말기의 외부단자와 전기적으로 접촉하기 위한 이동단말기측 접촉단자 및 상기 보조배터리용 케이스의 내측면에 배치되어, 상기 보조배터리의 외부단자와 전기적으로 접촉하기 위한 보조배터리측 접촉단자를 포함하여, 상기 이동단말기측 접촉단자와 상기 보조배터리측 접촉단자 사이를 전기적으로 연결하는 연결케이블에 의해 상기 보조배터리의 전력이 상기 이동단말기에 제공되는 것을 특징으로 하는 이동단말기용 보호케이스를 제공한다.
발명자설명 : 탈착식 배터리를 이용해 이동단말기를 충전할 수 있는 케이스에 대한 기술특허입니다. antioff Power-Case의 원형 기술이며, 관련하여 중국 실용신안, 미국 등록특허까지 확보하고 있습니다. 해당 기술의 연구개발 완료, 상용화 완료. 또한, 중국 업체 측의 특허침해 의심 사례 발생하여 현재 권리보호를 위한 분쟁에 돌입하였습니다. 당사 특허를 침해한 중국 상품은 금년 상반기 해외 크라우드펀딩을 통해 총 22억원 매출을 달성하였고, 당사 특허로 중국/한국/미국 생산/유통을 모두 차단할 수 있어 매우 유리하고 활용범위가 넓은 특허입니다.
1020170134034 (1)





