출원번호 : 10-2020-0142583 (2020.10.29)
등록번호 : 10-25080840000 (2023.03.06)
특허권자 : 한남대학교산학협력단
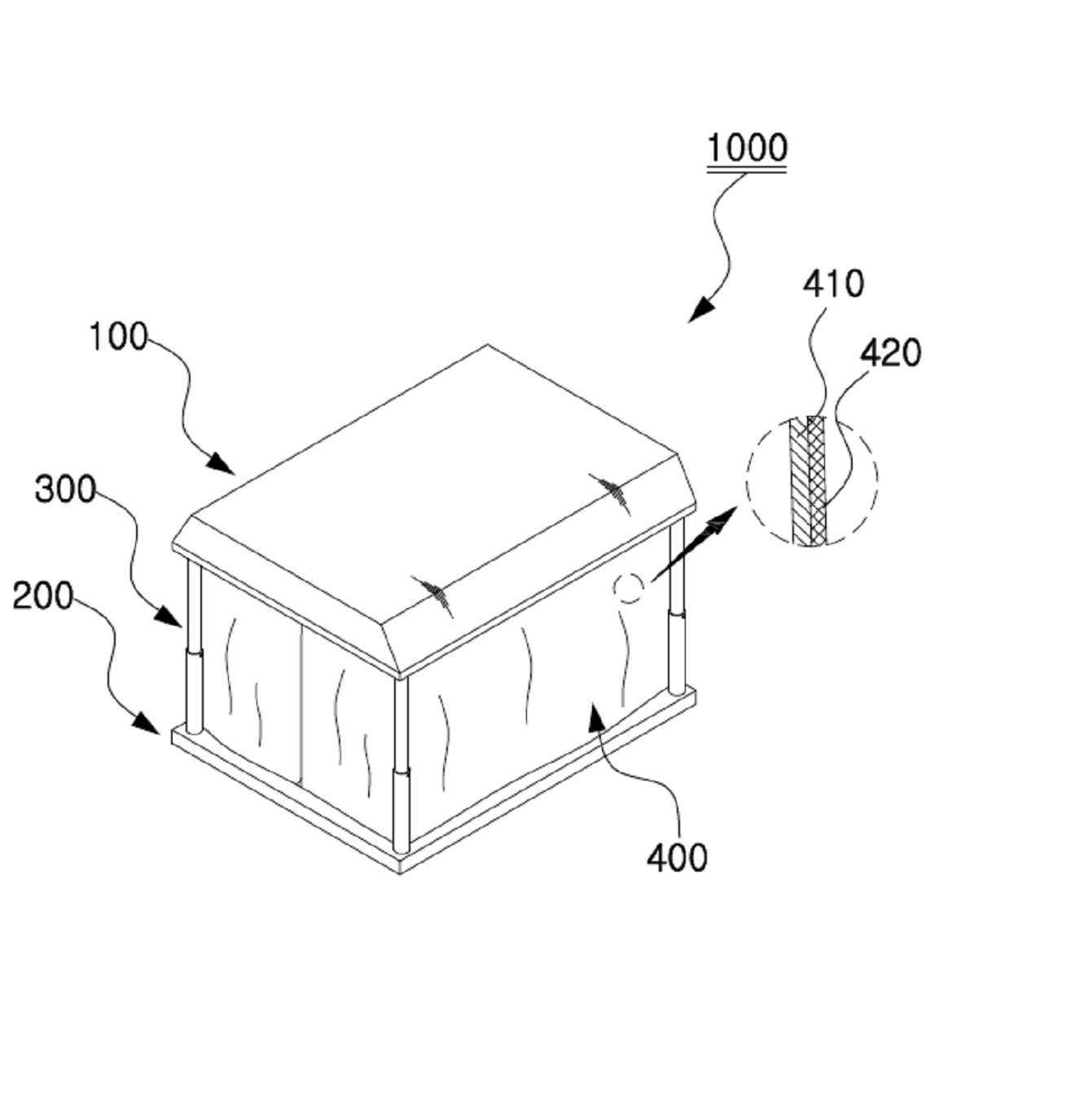
요약 : 본 발명은 상측에 위치되는 상부 슬래브와, 하측에 위치되는 하부 슬래브와, 상부 슬래브와 하부 슬래브 사이의 거리를 조절하는 높이 조절부와, 길이방향 일측이 상부 슬래브에 결합되고 길이방향 타측이 하부 슬래브에 결합되어, 상부 슬래브와 하부 슬래브 사이의 거리 조절에 대응하여 길이가 조절되는 격리부를 포함하는 임시구호 대피소에 관한 것이다.
1020200142583




