출원번호 : 10-2015-0015828 (2015년02월02일)
등록번호 : 10-1595974 (2016년02월15일)
특허권자 : 한밭대학교
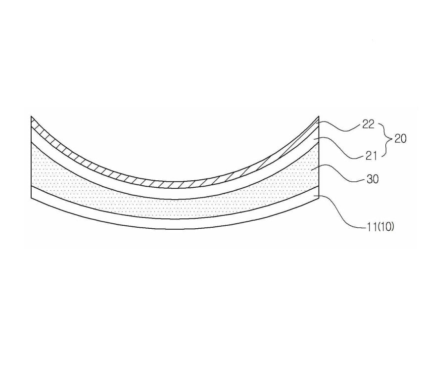
요약 : 본 발명은 자동변색 기능을 갖는 사각지대 감지 사이드미러에 관한 것으로, 더욱 상세하게는 시야각이 서로 다른
이중 구조의 접합 미러와 두 개의 미러 사이에 삽입되는 반사 및 투과율 조절이 가능한 변색소자로 구성되고 사
각지대의 차량 유무에 따라서 변색소자의 투과율을 제어함으로써 시야각 전환이 가능하도록 하는 자동변색 기능
을 갖는 사각지대 감지 사이드미러에 관한 것이다.





