출원번호 : 10-2013-0152979 (2013년12월10일)
등록번호 : 10-1461342 (2014.11.06)
특허권자 : (주)유한엔씨아이
요약 : 본 발명은 간단한 구성에 의해 척킹용 유체가 공급되도록 연장되는 유체라인의 꼬임을 방지하도록 구비됨으로 인해 장치의 원활한 작동과 작동상의 신뢰성을 증대시킬 수 있는 새로운 구조의 조립물 척킹장치에 관한 것이다.
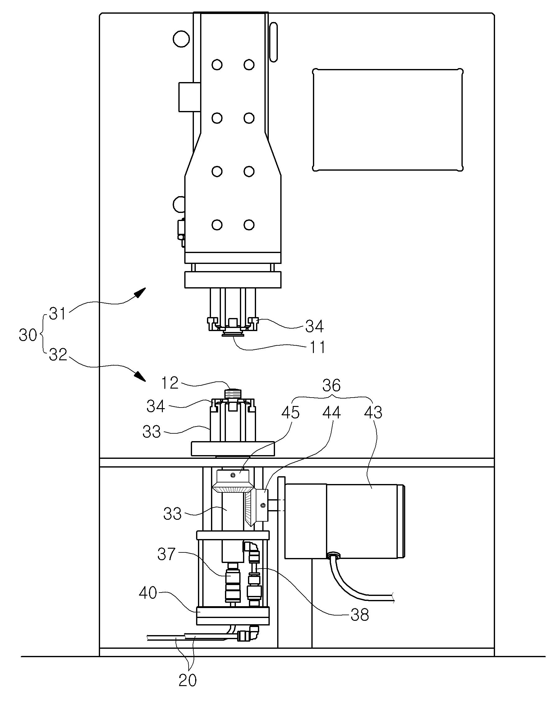
본 발명에 따르면, 제1 피조립체(11)를 클램핑하도록 된 제1 척킹부(31)와, 상기 제1 피조립체(11)에 체결되는 제2 피조립체(12)를 클램핑하도록 된 제2 척킹부(32)로 이루어진 조립물 척킹장치에 있어서; 상기 제1 척킹부(31) 또는 제2 척킹부(32)는 상기 제1 피조립체(11) 또는 제2 피조립체(12)를 클램핑하도록 다수의 척죠(34)가 구비되고, 내부에 상기 척죠(34)의 클램핑 또는 언클램핑 작동을 위해 작동유체가 각각 유출입 가능하도록 제1 및 제2 통로(21,22)가 형성된 척바디(33)와; 상기 척바디(33)에 연결되어 일정 길이로 연장되며, 내부에 상기 통로(21,22)에 연통되는 제1 및 제2 연통로(23,24)가 형성된 회전축(35)과; 상기 회전축(35)의 일측에 결합되어 상기 척바디(33)를 회동 구동하도록 된 회전수단(36)과; 상기 회전축(35)의 회전시에 일체로 회전되도록 구비된 회전체(41)와, 이 회전체(41)가 회전 가능하게 결합됨과 동시에 일측에 작동유체를 공급하도록 된 공급라인(20)이 무회전 상태로 고정 결합되는 베이스(42)와, 상기 회전체(41)와 베이스(42)의 내부에 상기 연통로(23,24)와 공급라인(20)을 연통시키는 공급로(25)가 형성된 꼬임방지수단(40)을 포함하여 이루어지는 조립물 척킹장치가 제공된다.
1020130152979





