출원번호 : 1020240009153 (2024.01.20), 1020240009153 (2024.01.20)
등록번호 : 1026826690000 (2024.07.03), 1026826690000 (2024.07.03)
등록권리자 : 오분옥
소주병과 결합하여 내용물(숙취해소제등)을 소주와 혼합할 수 있는 혼합용기 특허 2건
(현재 1개의 경쟁업체가 2년(22~23)간 44억매출 /10억 이익내는중)
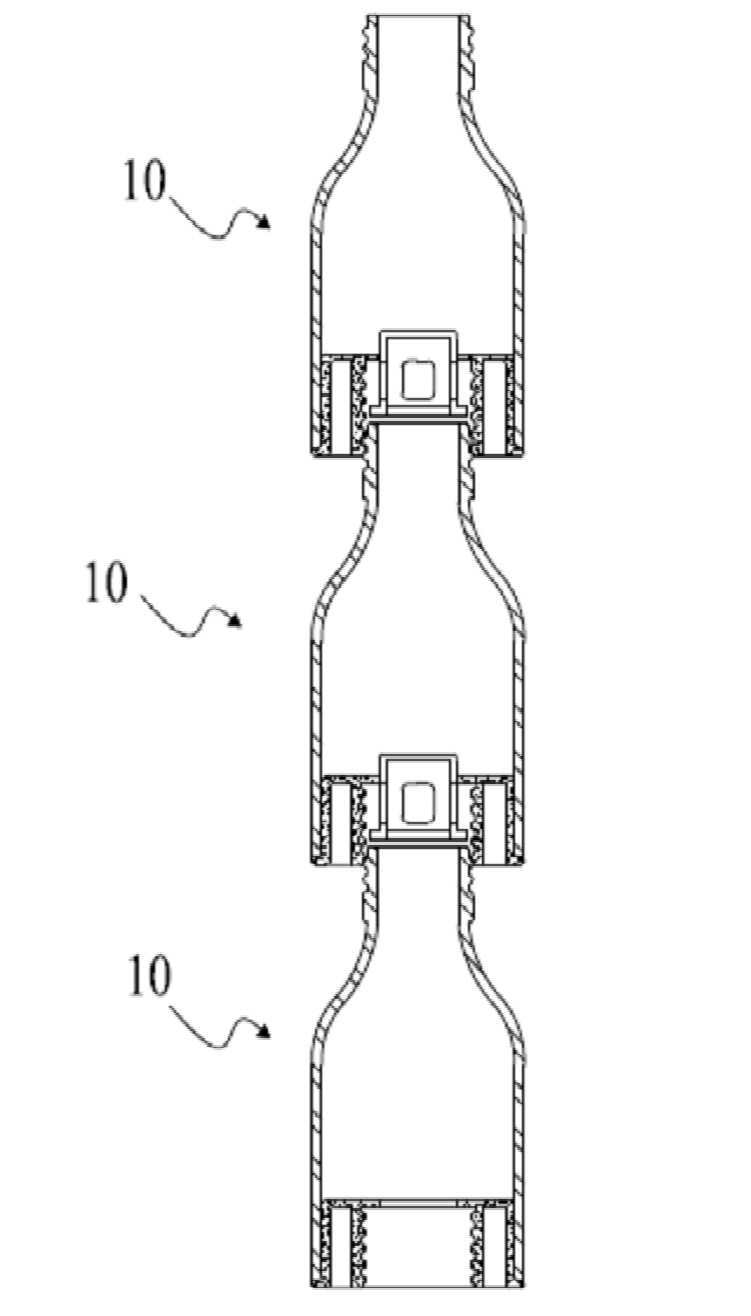
상측에 뚜껑으로 개폐될 수 있도록 형성된 나선체결개폐부, 하측에 내향나선부가 형성된 양방향 개방형 인입터널부 및 상기 상하측 사이에 내용물을 수용하는 내부공간부를 구비한 혼합용기와; 상기 혼합용기의 하측 인입터널부를 밀폐하고 있으며 1 이상의 혼합연통구가 형성된 연통마개부와; 하측 인입터널부에 연통마개부 하단의 인입터널부에 결합될 수 있는 보조구로; 구성되어 있어, 상기 연통마개부가 밀폐하고 있는 상단 혼합용기의 하측 인입터널부에 하단 혼합용기의 상측 나선체결개폐부를 억지끼움 또는 회전결합하거나 필요에 따라 보조구를 이용하여 일반보틀을 회전결합함으로써, 혼합연통구가 형성된 연통마개부를 밀어올려 상단 혼합용기 내부공간부에 연통마개부의 혼합연통구가 노출될 수 있도록 함으로써 복수개의 혼합용기를 결합하거나 일반보틀을 혼합용기에 결합, 연통됨으로써 각각의 용기에 수용되어 있는 내용물을 별도의 용구 없이 쉽고 간편하게 혼합할 수 있어 칵테일 또는 하이볼 등을 용이하게 제조할 수 있는 조립형 혼합용기에 관한 것이다.






