출원번호 : 10-2017-0062985(2017년05월22일)
등록번호 : 10-2070487(2020월01월20일)
특허권자 : 명지대학교 산학협력단
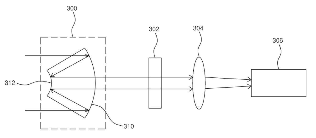
요약 : 좁은 스펙트럼 필터를 이용하는 광 신호 검출 시스템 및 방법이 개시된다. 상기 광 신호 검출 시스템은 외부로부터 입사되는 광을 수신하는 광 수신부, 상기 광 수신부로부터 전달된 광의 특정 파장 대역을 선택하는 좁은 스펙트럼 필터, 상기 좁은 스펙트럼 필터를 통과한 광을 상기 시스템의 사이즈 또는 해상도 측면에서 보상하는 보상부 및 상기 보상부로부터 출력된 광을 통하여 원하는 특징을 검출하는 검출기를 포함한다. 여기서, 상기 광 수신부는 상기 입사된 광의 유효 초점 거리를 증가시키기 위한 수단을 포함한다.
1020170062985




