출원번호 : 10-2019-0035257 (2019년03월27일)
등록번호 : 10-2238798 (2021년03월27일)
특허권자 : 주종민
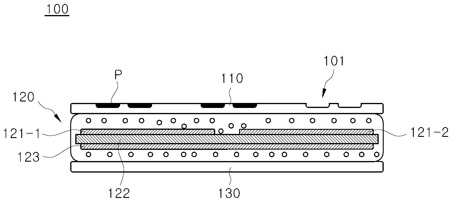
요약 : 본 발명의 제1 실시예에 따른 스텝 교구는 탈부착 가능한 복수 개의 발모양 자석패드를 삽입하기 위한 패드 홈이 형성된 제1 플레이트; 상기 자석패드가 상기 패드 홈에 부착되도록 상기 제1 플레이트의 하부에 형성된 자석부재; 상기 자석층의 하부에 형성된 제2 플레이트를 포함하고, 상기 제1 플레이트 및 상기 제2 플레이트는 내부에 쿠션층을 포함하고, 상기 제2 플레이트의 바닥면은 지면과 흡착되는 흡착부재를 포함한다.
판매자 설명 :
메타버스 시대에 VR을 이용해 원격에서도 다양한 스텝을 하는 류의 운동 동작들을 지도하고 운동할 수 있는 아이디어입니다.
1020190035257




