출원번호 : 1020210039533 (2021.03.26)
등록번호 : 1024572920000 (2022.10.17)
특허권자 : 충남대학교 산학협력단
요약 :
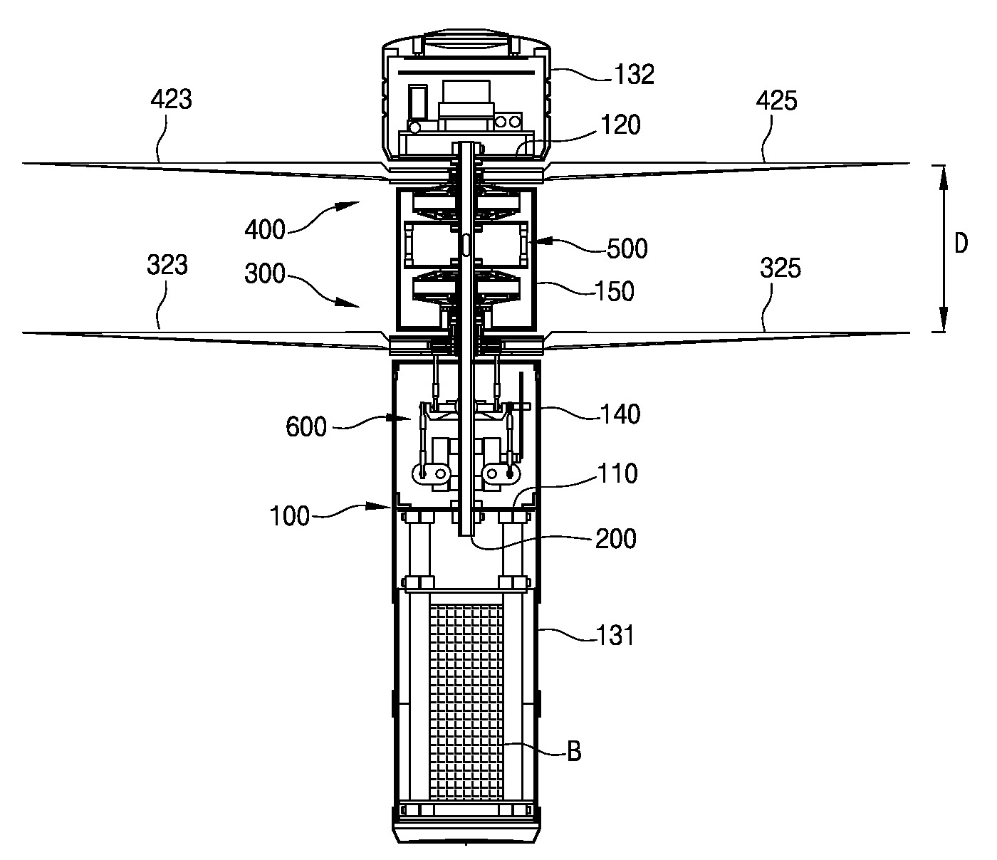
본 발명은 간단한 구조를 가지면서도 각종 장치 및 유닛들이 장착될 수 있는 여유공간을 가질 수 있고, 사용 목적에 따라 설계 변경이 용이하면서도 우수한 비행 성능을 만족할 수 있는 중공형 동축 반전 구조의 비행체를 제공함에 있다. 이를 위한 본 발명은 몸체부; 중공 구조를 이루며, 상기 몸체부에 결합되어 수직축을 형성하는 메인샤프트; 상기 메인샤프트에 결합되며, 상기 수직축을 중심으로 제1방향으로의 회전력을 발생시키는 제1로터구동부와, 상기 제1로터구동부에서 발생된 회전력에 의해 상기 제1방향으로 회전하는 제1로터를 가지는 제1로터유닛; 상기 메인샤프트에 결합되며, 상기 수직축을 중심으로 상기 제1방향과 반대되는 제2방향으로의 회전력을 발생시키는 제2로터구동부와, 상기 제2로터구동부에서 발생된 회전력에 의해 상기 제2방향으로 회전하는 제2로터를 가지는 제2로터유닛; 및 상기 수직축에 대해 상기 제1로터유닛 및 상기 제2로터유닛 사이의 간격을 조절하기 위한 간격조절부를 포함하는 특징을 개시한다.





