출원번호 : 10-2015-0038398 (2015년03월19일)
등록번호 : 10-1645864 (2016년07월29일)
특허권자 : (주)유한엔씨아이
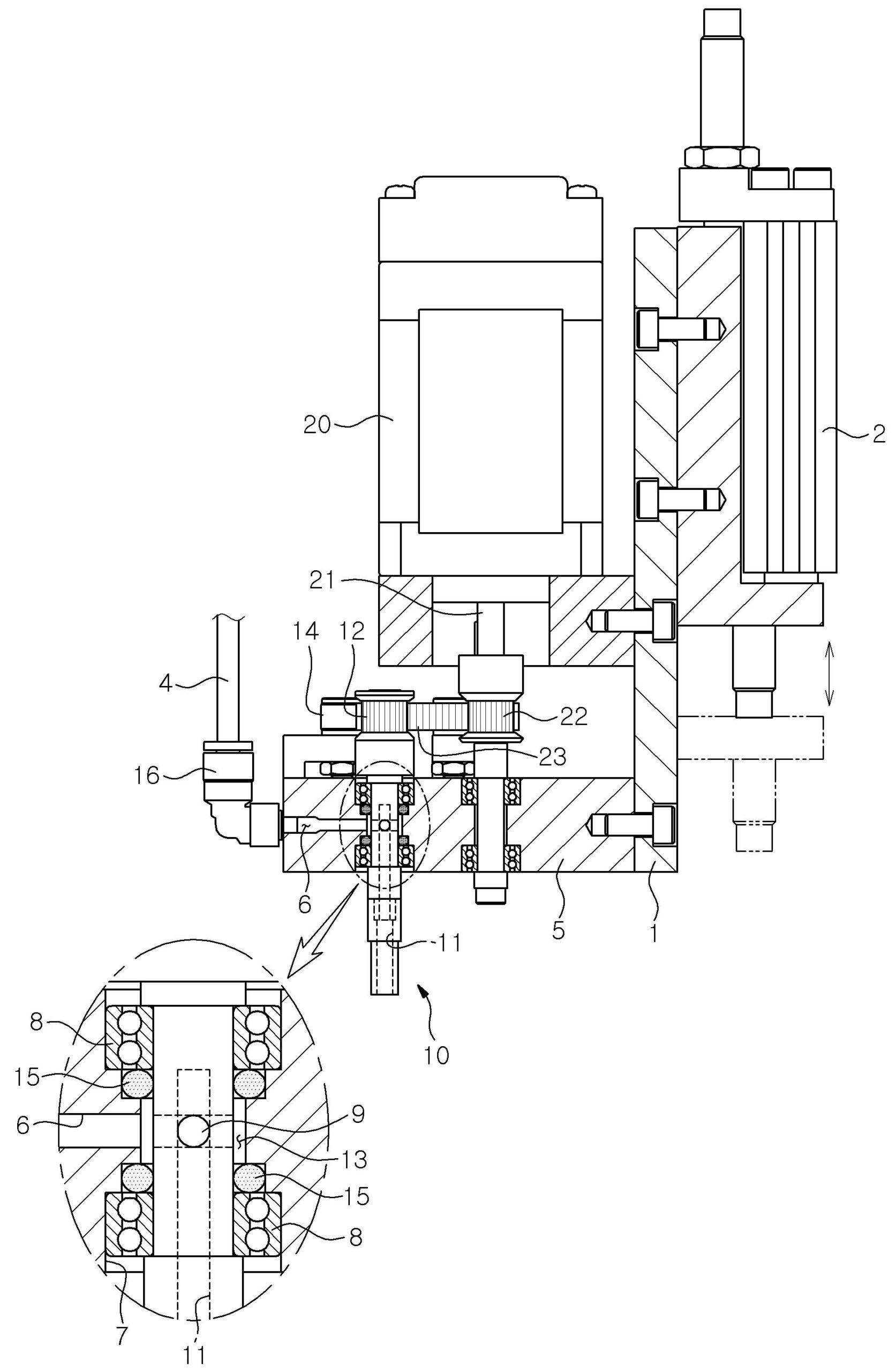
요약 : 본 발명의 한 특징에 따르면, 지지브라켓(1) 상에 장착되며 진공배관(4)이 연결되는 제1진공홀(6)이 형성되는 진공매니폴드블록(5)과, 상기 진공매니폴드블록(5)의 제1진공홀(6)에 직각방향으로 연장되는 관통공(7) 상에 베어링(8)을 매개로 회전가능하게 밀봉결합되며 둘레에는 상기 제1진공홀(6)과 연통되는 연통공(9)이 형성되고 내부에는 선단부로 개방되는 제2진공홀(11)이 형성되고 후단부은 상기 진공매니폴드블록(5)의 후방으로 연장되는 픽업부재(10)와, 상기 픽업부재(10)의 후단에 구동적으로 접속되어 상기 픽업부재(10)를 회전구동하는 모터(20)로 구성된 것을 특징으로 하는 진공 픽업장치가 제공된다.
1020150038398





