출원번호 : 10-2014-0113958 (2014년08월29일)
등록번호 : 10-1561393 (2015년10월12일)
특허권자 : 한밭대학교
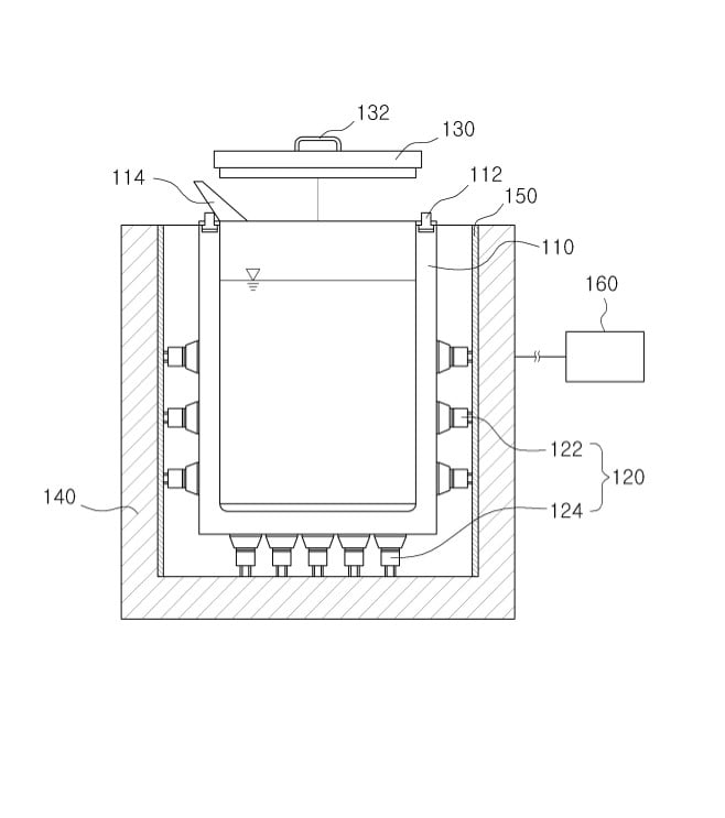
요약 : 본 발명은 증류수에 분산제가 혼합된 반응액이 담기는 챔버; 상기 챔버의 바닥면과 둘레면에 구비되며, 상기 챔
버에 진동을 가하는 초음파 진동자부; 상기 챔버의 상부에 구비되는 챔버 뚜껑; 상기 챔버의 둘레면 및 하부면을
외측에서 감싸는 케이스; 상기 케이스의 내측 둘레면에 구비되고, 상기 챔버의 열손실을 방지하며, 가열되는 상
기 초음파 진동자부의 열이 상기 케이스로 전달되는 것을 방지하는 절연처리 패드; 및 상기 초음파 진동자부의
구동을 컨트롤하는 컨트롤러를 포함하되, 상기 챔버의 상부 둘레면에는 상기 챔버의 온도를 조절하며, 상기 챔버
내부에 담기는 반응액을 가열하기 위한 가열된 물을 상기 챔버의 둘레면 내부로 공급하는 물공급부가 형성되고,
상기 챔버 뚜껑에 의해 가열된 물에 의해 가열되는 반응액의 냉각속도가 감소되는 것을 특징으로 하는 초음파를
이용한 단결정 판상 산화주석 제조장치 및 이를 이용하여 단결정 판상 산화주석를 제조하는 방법을 제공한다.
따라서, 증류수에 분산제가 혼합된 반응액이 담기는 챔버를 초음파 진동자를 이용하여 진동시키면서 증류수를 가
열하여 결정 입자가 작은 단결정 판상 산화주석을 취득할 수 있고, 반응액에서 생성되는 단결정 판상 산화주석의
결정 생성속도를 조절할 수 있다.





