출원번호 : 10-2019-0112404 (2019년09월10일)
등록번호 : 10-2190573 (2020년12월08일)
특허권자 : 김광승, 정호영
요약 :
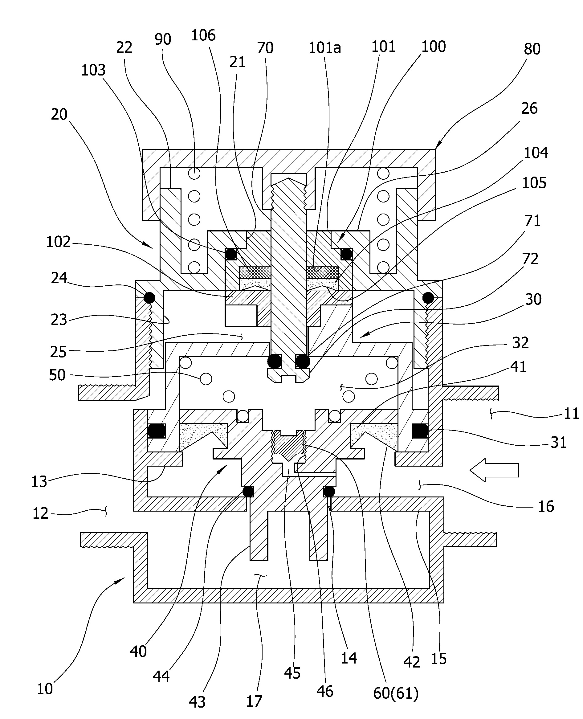
본 발명은 초절수 수도전용 자폐식 밸브에 관한 것으로 특히, 하우징 본체(10)와 하우징 본체 커버(20), 압력 실린더(30), 피스톤(40), 피스톤 복원 스프링(50), 개폐시간 및 물 통과량 조절수단(60), 실린더 로드(70), 푸시 핸들(80), 푸시 핸들 및 실린더 로드 복원 스프링(90) 및 실린더 로드 유동 및 누수 방지수단(100)으로 구성한 것을 특징으로 한다.
따라서, 물의 공급을 위해 푸시 핸들을 원터치식으로 눌러 조작할 때 해당 푸시 핸들을 포함하여 이에 의해 직접 작동되는 실린더 로드의 흔들림을 최소화시킬 수 있음은 물론 푸시 핸들의 조작 시 발생하는 충격에 의해 개폐시간 및 물 통과량 조절수단을 포함한 밸브 내외부에 각각 구비된 각종 부품이 마모 및 손상되는 것을 방지할 수 있어 밸브 자체의 동작불능 및 고장율을 최대로 낮출 수 있음과 동시에 제품 자체의 수명을 대폭 연장할 수 있다.
1020190112404





