출원번호 : 1020200009606 (2020.01.28)
등록번호 : 1022210550000 (2021.02.22)
출원인 : 최주연
출원인설명 : 첫째, 칼질이 서툰 신세대 및 칼질 초보자가 손 상해 없이 안전하게 사용할 수 있도록 고안된 구조임.
둘째, 마늘, 생강 등을 찧을 때 칼 본체에 보조기구를 부착하여 재료가 튀거나 손가락 상해 없이 처리할 수 있고, 보조기구의 탈부착이 쉬운 구조로 고안됨.
셋째, 무, 단호박, 양파, 감자 등 부피가 크거나 단단한 식재료를 가공하기에 적당한 구조이며, 작은 힘으로도 비교적 쉽게 가공할 수 있음.
넷째, 칼을 세척할 경우에도 탈부착이 용이한 구조의 잠금/풀림 볼트를 조이거나 풀어서 사용하면 됨.
본 특허를 활용한 일체형 도마칼은 일반 가정용 뿐만 아니라 식당용으로도 그 사용범위가 넓을 것으로 생각됩니다. 특히, 도마와 일체형이므로 칼이 위험하지 않아 선물용으로도 좋을 것 같습니다.
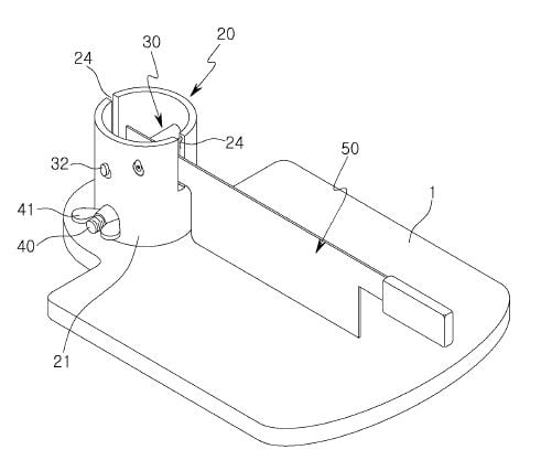
요약 : 본 발명의 예시적 실시예에 따른 칼이 구비된 도마는, 관통홀을 구비하는 몸체; 상기 몸체 상에 놓이는 바닥 및 상기 바닥의 테두리에서 상부로 연장되는 제1측벽을 포함하고, 상기 바닥에는 상기 관통홀과 연통하는 고정홀이 구비되어 상기 관통홀과 상기 고정홀에 삽입되는 고정수단을 통해 상기 몸체 상에 고정되고, 상기 제1측벽에는 서로 마주하는 구조로 배치되는 한 쌍의 가이드홀이 상기 제1측벽의 둘레를 따라서 수평방향으로 연장되어 형성되는 제1 지지대; 및 상기 제1 지지대를 내측에 수용하며 상기 제1측벽의 외측 둘레에 배치되는 제2측벽을 포함하고, 상기 제2측벽에는 제1축핀이 삽입되도록 서로 마주하는 구조로 배치되는 한 쌍의 제1체결홀이 형성되고, 제2축핀이 삽입되도록 상기 한 쌍의 제1체결홀의 하부에서 서로 마주하는 구조로 배치되는 한 쌍의 제2체결홀이 형성되며, 칼의 선단을 수용하도록 상기 한 쌍의 제1체결홀과 직교하는 위치에서 서로 마주하는 구조로 배치되는 한 쌍의 수용홈이 상하방향으로 연장되어 형성되는 제2 지지대;를 포함하고, 상기 제1축핀은 상기 한 쌍의 제1체결홀에 삽입되어 체결된 상태에서 상기 칼의 선단에 구비되는 안내홀이 상기 제1축핀에 끼워져 상기 칼이 상기 제1축핀을 회전축으로 상기 한 쌍의 수용홈을 따라서 상하방향으로 회전하도록 구성되고, 상기 제2축핀은 상기 한 쌍의 제2체결홀에 삽입되어 체결된 상태에서 상기 한 쌍의 가이드홀을 관통하여 연장되며 상기 제2 지지대가 상기 한 쌍의 가이드홀을 따라서 수평방향으로 선회하도록 구성될 수 있다.
1020200009606




