출원번호 : 1020190042348 (2019.04.11)
등록번호 : 1020941230000 (2020.03.21)
특허권자 : 김국
요약 :
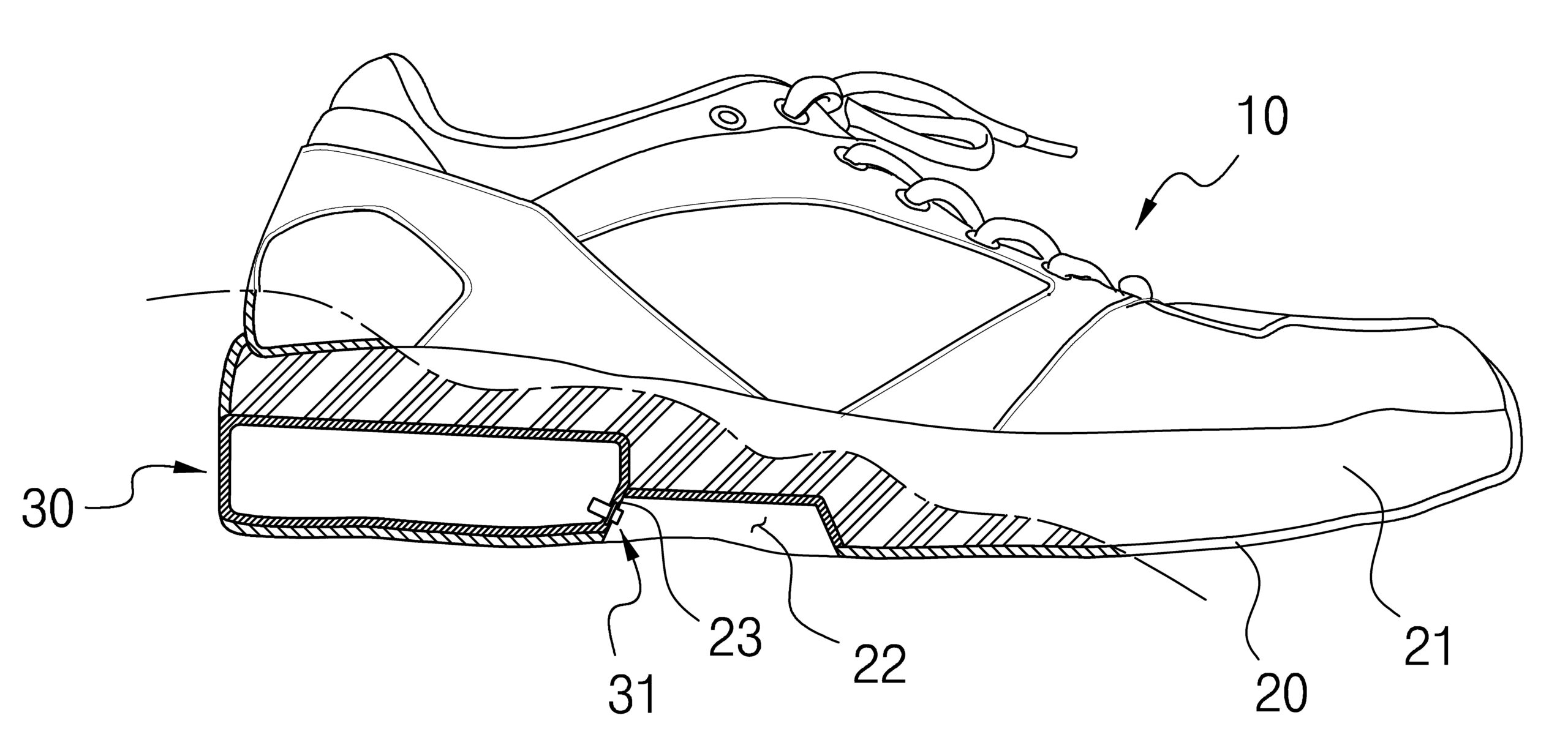
본 발명은 공기압이 저하되었을 경우에 공기압을 보충함으로써 적절한 완충기능을 유지할 수 있게 하는, 쿠션조정이 가능한 에어쿠션 신발에 관한 것이다. 그의 구성은; 인솔과 밑창으로 구성되는 신발창; 상기 신발창에 결합되는 것으로 발을 감싸는 갑피; 상기 인솔과 밑창 사이에 개입 설치되는 것으로서, 공기주입구를 갖는 에어포켓;을 포함하는 것을 특징으로 한다.





