출원번호 : 10-2015-0095919 (2015년07월06일)
등록번호 : 10-1552094 (2015년09월04일)
특허권자 : 명품미래하이테크(주)
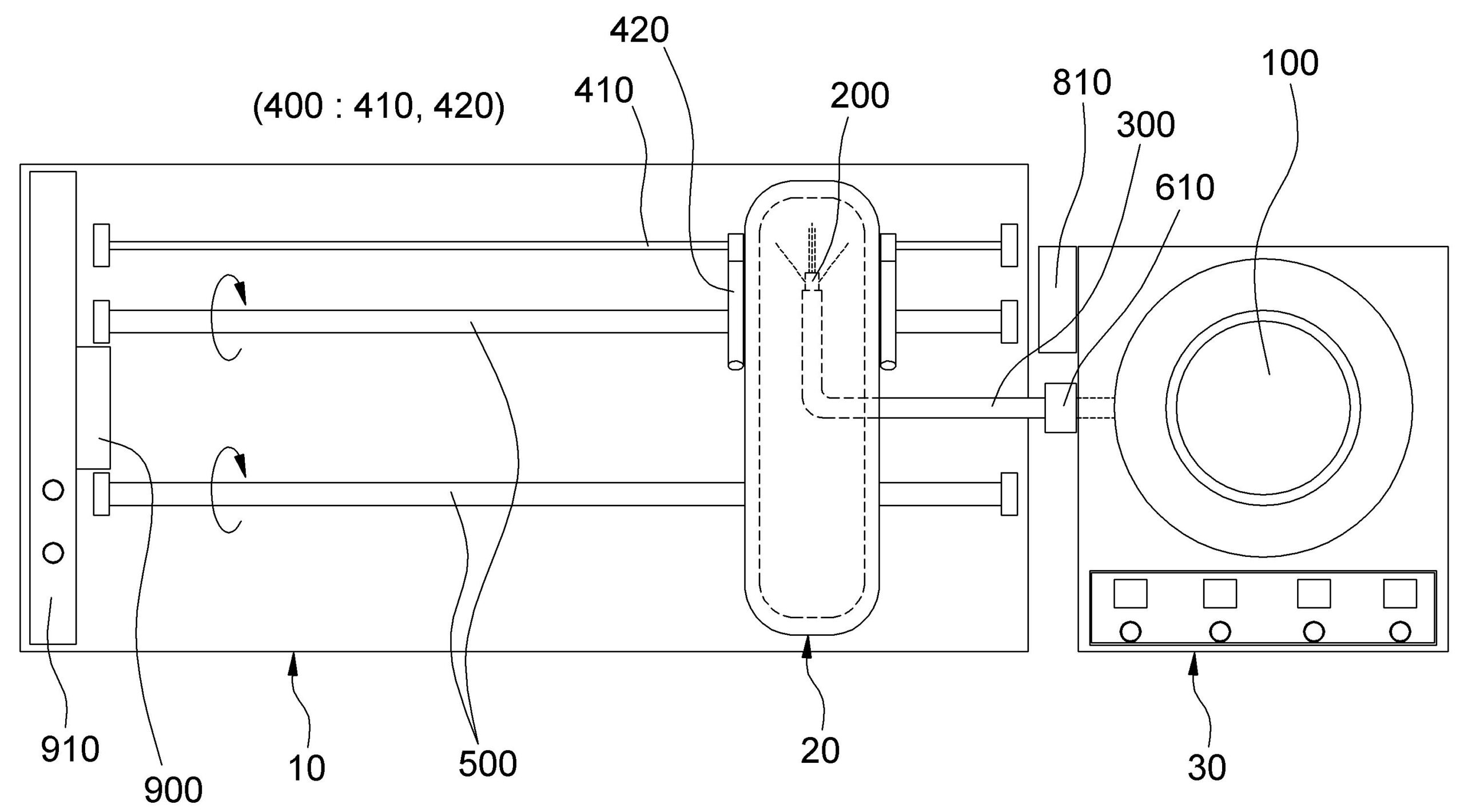
요약 : 본 발명은 타이어의 펑크를 방지하기 위한 도포 레이어(L)를 타이어의 내측에 형성하는 도포시스템에 관한 기술로서, 타이어를 회전시키면서 타이어의 내벽에 실링액을 분사함으로써 도포된 실링액에 의한 도포 레이어(L)의 두께를 타이어의 둘레 방향을 따라 고르게 유지할 수 있고 분사되는 실링액의 온도와 분사량을 미리 설정된 목적 수치로 정확하게 제어할 수 있는 도포시스템에 관한 기술이다. 본 발명에 따르면, 또한, 본 발명은 실링액의 도포시 타이어의 회전속도를 조절함으로써 실링액을 분사하는 과정에서 타이어의 내벽에 분사된 실링액이 흘러내리지 않도록 하는 장점이 있다.
1020150095919





