출원번호 : 10-2013-0078353 (2013.07.04)
등록번호 : 10-13722360000 (2014.03.04)
특허권자 : 군산대학교산학협력단
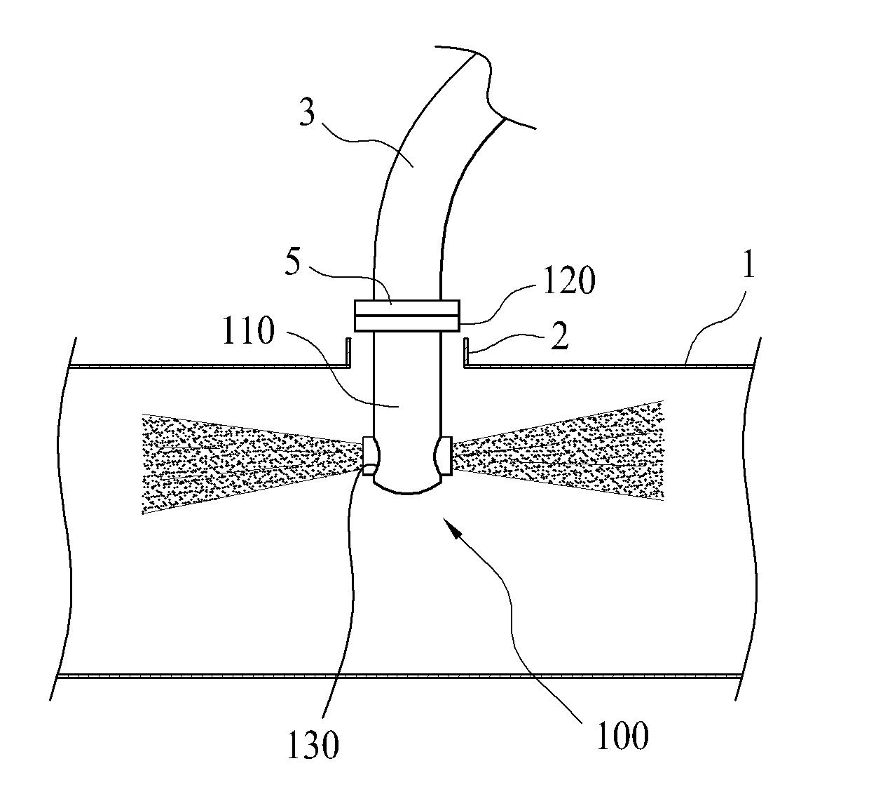
요약 : 이를 위해, 본 발명은 준설토의 주입을 위한 메인호스가 연결되며 하부가 튜브구조체 내측에 삽입되는 메인몸체부 및 상기 튜브구조체 내측에 삽입된 상태에서 상기 주입된 준설토를 측방향으로 배출되도록 상기 메인몸체부에 구비되는 배출부가 포함되는 것을 특징으로 하는 튜브구조체 충진용 호스연결모듈을 제공한다.
1020130078353 (1)





