출원번호 : 10-2016-0020525 (2016년02월22일)
등록번호 : 10-1936458 (2019년01월02일)
특허권자 : 한밭대학교
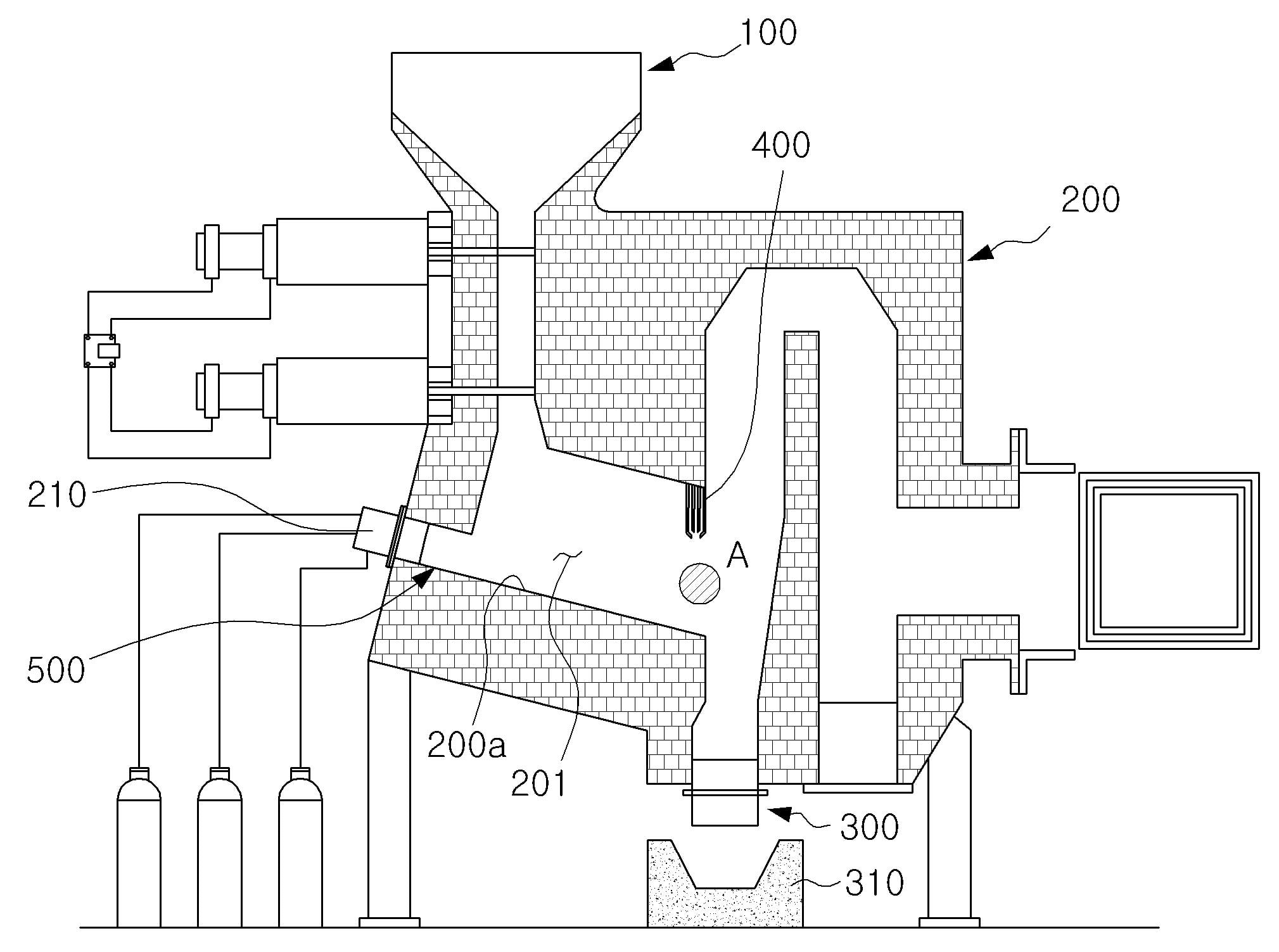
요약 : 본 발명에 따른 폐냉매 파괴가 가능한 폐수슬러지 용융장치는 외부로부터 폐수슬러지가 인입되는 인입부; 내부에
상기 인입부의 하단과 연통하는 수용공간을 형성하고, 상기 수용공간의 하면에 경사면을 형성하여 상기 인입된
폐수슬러지를 흘려보내면서 용융시키는 용융부; 상기 용융부의 하단에 형성되어 상기 용융된 폐수 슬러지에서 발
생하는 슬레그(Slag)를 외부로 배출시키는 슬레그 배출부; 상기 수용공간과 연통하도록 배치되어 상기 수용공간
에 폐냉매 및 유체를 분사하는 폐냉매 공급부; 및 상기 수용공간의 폐수 슬러지 또는 폐냉매로부터 방출되는 가
스를 외부로 배출하는 가스 배출로를 포함한다. 이러한 본 발명에 따른 폐냉매 파괴가 가능한 폐수슬러지 용융장
치에 의하면, 보다 경제적이고 친환경적으로 폐수슬러지와 폐냉매를 폐기 처리할 수 있으며, 상기 폐냉매를 상
기 용융로 내의 가장 고온의 영역에 분사시킴으로써, 상기 폐냉매의 파괴 효율을 높일 수 있다. 더불어 상기 폐
냉매를 공기와 충분하게 접촉시킨 상태에서 열적 분해함으로써, 상기 폐냉매에서 발생하는 불완전연소가스를 효
과적으로 제거할 수 있다.





