출원번호 : 10-2016-0164682 (2016.12.05)
등록번호 : 10-1994202 (2019.06.24)
특허권자 : 이익범
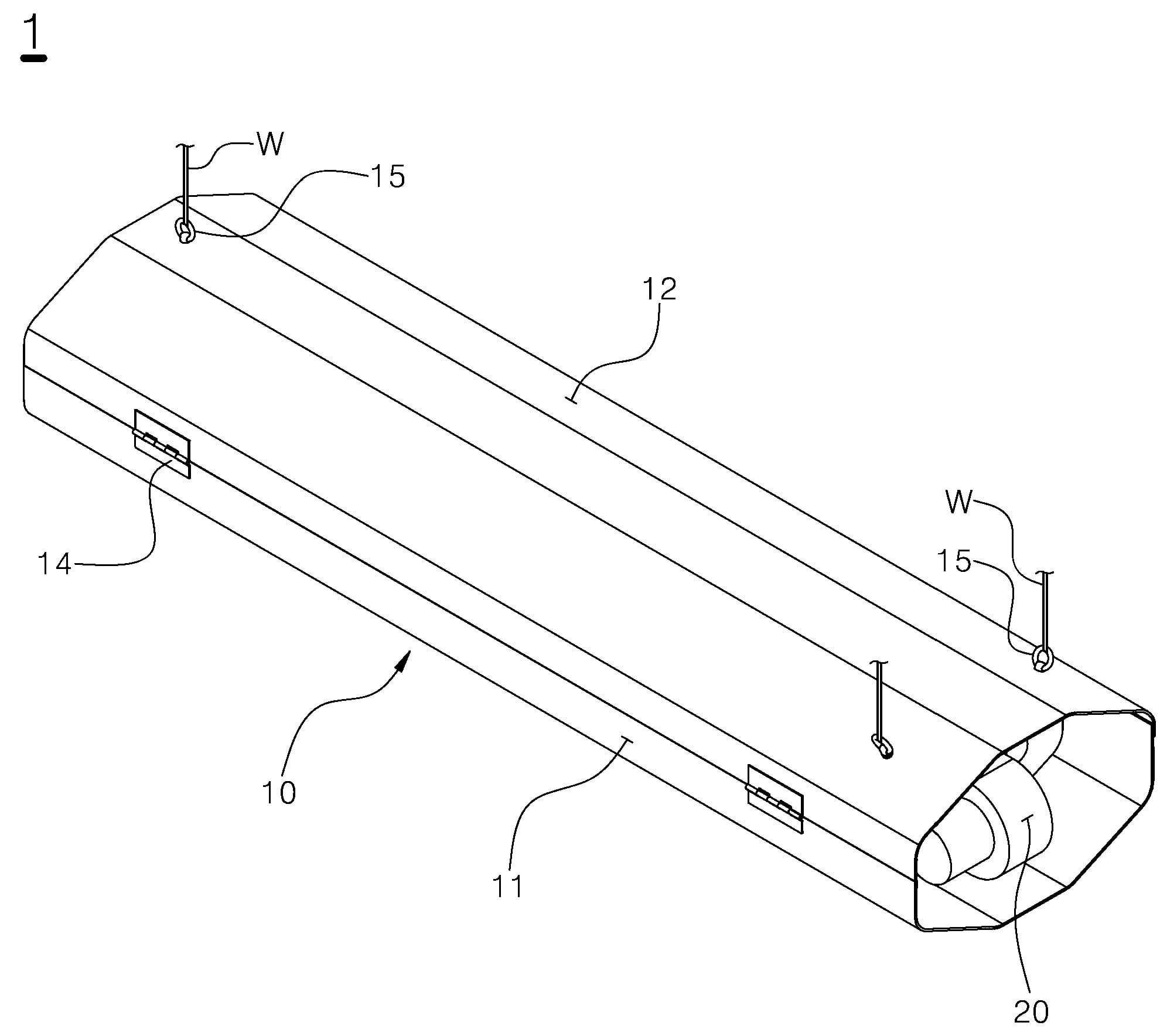
본 발명은 플라즈마를 이용한 온실용 살균 장치에 관한 것으로, 보다 상세하게는 플라즈마를 이용하여 흡입된 공기를 자외선 및 플라즈마 오존으로 살균함으로써 농작물 생장을 저해하는 미생물이나 세균을 제거할 수 있는 플라즈마를 이용한 온실용 살균 장치에 관한 것이다. 본 발명에 따른 플라즈마를 이용한 온실용 살균 장치는, 외부의 공기가 흡입되는 입구와 내부로 유입된 공기가 배출되는 출구가 구비된 하우징과, 상기 하우징의 입구로 공기가 유입되어 상기 출구로 배출되도록 공기를 송풍하는 송풍수단과, 상기 하우징의 입구를 통해 유입된 공기에 자외선을 조사하는 자외선 램프와, 상기 하우징 내부에서 전기 방전을 통해 플라즈마를 발생시키는 플라즈마 발생 수단을 포함하는 것을 특징으로 한다.
1020160164682




