출원번호 : 10-2015-0081137 (2015년06월09일)
등록번호 : 10-1728014 (2017년04월12일)
특허권자 : 한밭대학교
요약 : 본 발명은 플렉서블 표시장치 밴딩 시험장치를 개시한다. 개시된 본 발명의 플렉서블 표시장치 밴딩 시험장치는,
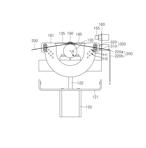
플렉서블 표시장치의 휘는 각도를 조절하는 곡률조절부; 상기 곡률조절부를 사이에 두고 양측에 배치며, 상기 플
렉서블 표시장치를 고정하는 롤러 고정수단; 상기 롤러 고정수단을 고정하는 백플레이트; 및 상기 곡률조절부 상
부에 배치된 광센서를 포함한다.
따라서, 본 발명의 플렉서블 표시장치 밴딩 시험장치는, 플렉서블 표시장치의 휨 또는 구부러짐 횟수에 대응하는
광량 정보들을 수집할 수 있어, 플렉서블 표시장치의 수명 특성 및 내구성 평가를 정밀하게 할 수 있는 효과가
있다.





