출원번호 : 1020190016292 (2019.02.12)
등록번호 : 1021265690000 (2020.06.18)
특허권자 : 이현주
요약 :
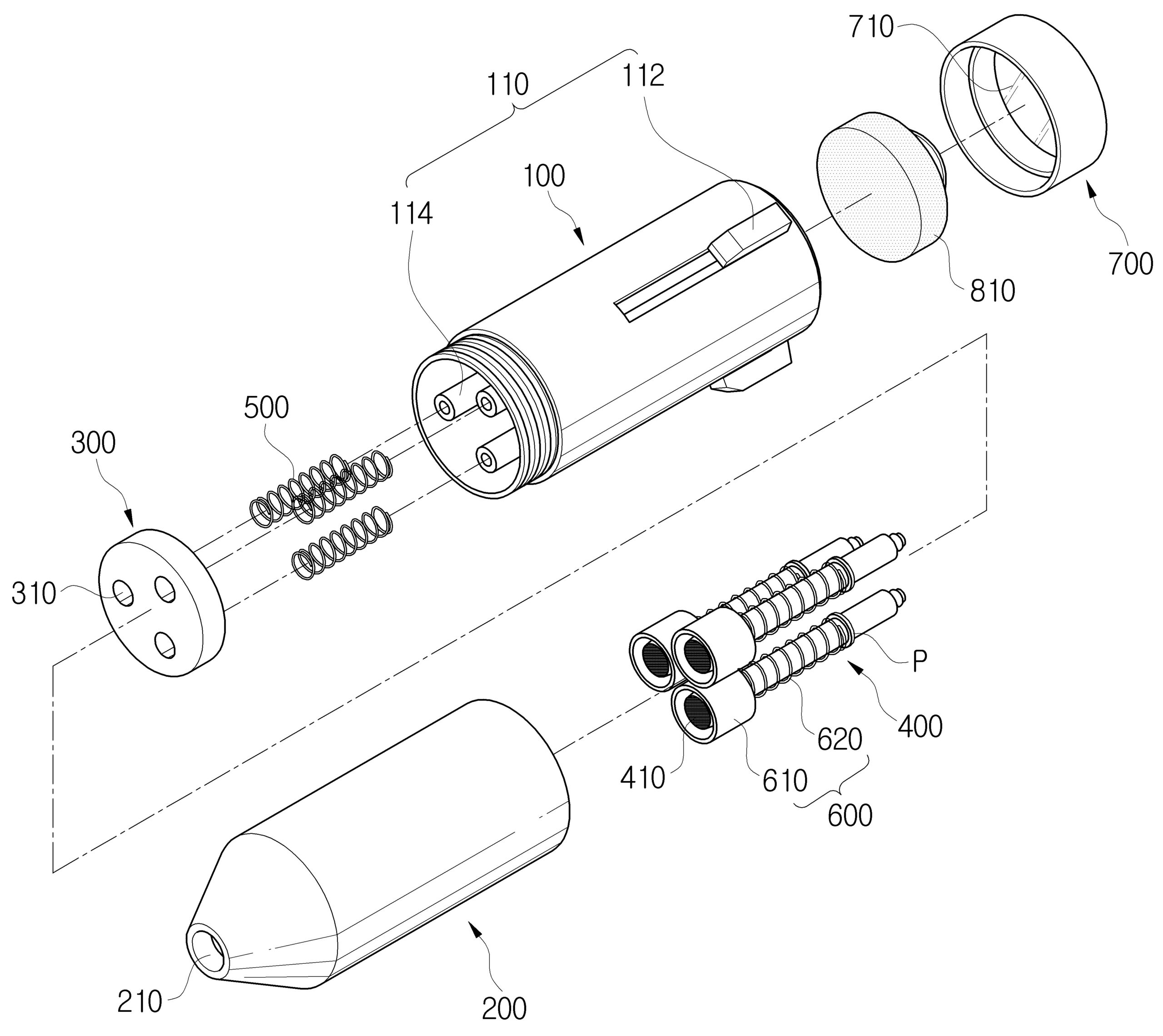
개시되는 발명은 화장용 멀티 브러시에 관한 것으로서, 외주면의 길이방향을 따라 이동하는 조작부 및 상기 조작부에 연결되어 내부에서 연동하여 이동하는 결합부를 포함하는 조작버튼이 복수 개 장착되는 제1 몸체;와, 상기 결합부의 단부가 출입하는 개구가 형성되고, 상기 제1 몸체의 내주면 상에 고정되는 고정판;과, 상기 결합부와 상기 고정판 사이에 배치되어 탄성력을 부여하는 제1 스프링;과, 상기 복수 개의 결합부 단부에 탈착 가능하게 각각 결합하는 복수 개의 브러시;와, 상기 제1 몸체에 대해 분리 가능하게 결합하고, 상기 조작버튼의 조작을 통해 상기 복수 개의 브러시 중 어느 하나의 브러시가 출몰하는 출입구가 단부에 형성된 제2 몸체; 상기 브러시의 솔을 감싼 상태를 기점으로 하여 상기 브러시의 길이방향을 따라 이동하는 보호 캡과, 상기 보호 캡과 상기 브러시 사이에 배치되어 탄성력을 부여하는 제2 스프링을 포함하는 브러시 보호장치;를 포함하며, 상기 브러시 보호장치는 상기 복수 개의 브러시마다 구비된다.
1020190016292





