...
,

화재방지 기능을 가지는 테크 Deck with fire extinguishing function

7,000,000

판매 대리인 : 기율특허

전화번호 : 02-782-1004

메일주소 : kiyul@kiyul.co.kr

판매특허요약 : 본 발명은 화재방지 기능을 가지는 테크에 관한 것이다.

가격 : 700만원

← 뒤로

응답해 주셔서 감사합니다. ✨

SKU: 이재성 카테고리: ,

출원번호 : 1020200051732 (2020.04.28)

등록번호 : 1023776440000 (2022.03.18)

특허권자 : 이재성

요약 :

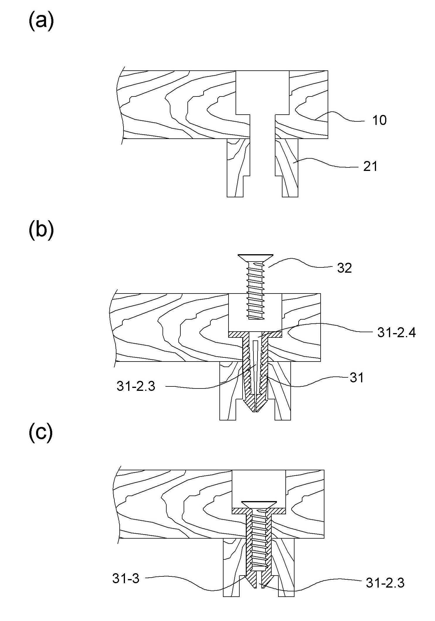
본 발명에 따른 화재방지 기능을 가지는 데크는, 데크살과, 베이스프레임과 데크지지대로 이루어진 데크베이스로 이루어지고, 데크살에는 그 길이방향을 따라, 데크베이스의 베이스프레임과 체결을 위한 제1체결구가 형성되고, 베이스프레임과 베이스지지대에는 데크살의 제1체결구에 대응하는 제2체결구가 형성되며, 상기 제1체결구는 제1확장구와 제1협소구로 구성되고, 베이스프레임과 베이스지지대에 형성되는 제2체결구는 제2협소구와 제2확장구로 구성되며, 제1확장구와 제1협소구가 만나는 지점에 제1안착부가 형성되고, 제2협소구와 제2확장구가 만나는 지점에 제2안착부가 형성되며, 조립시 상기 제2협소구는 상기 제1협소구와 연통하며, 상기 제1협소구와 제2협소구에 체결수단의 통과시켜 상기 체결수단의 상단을 제1안착부에서 지지시키고, 체결수단의 하단을 상기 제2안착부에서 지지시킴으로써 데크살을 데크베이스에 고정시킨다.

 

1020200051732