출원번호 : 10-2016-0108507 (2016.08.25)
등록번호 : 10-17119150000 (2017.02.24)
등록권리자 : 합자회사 와이에치
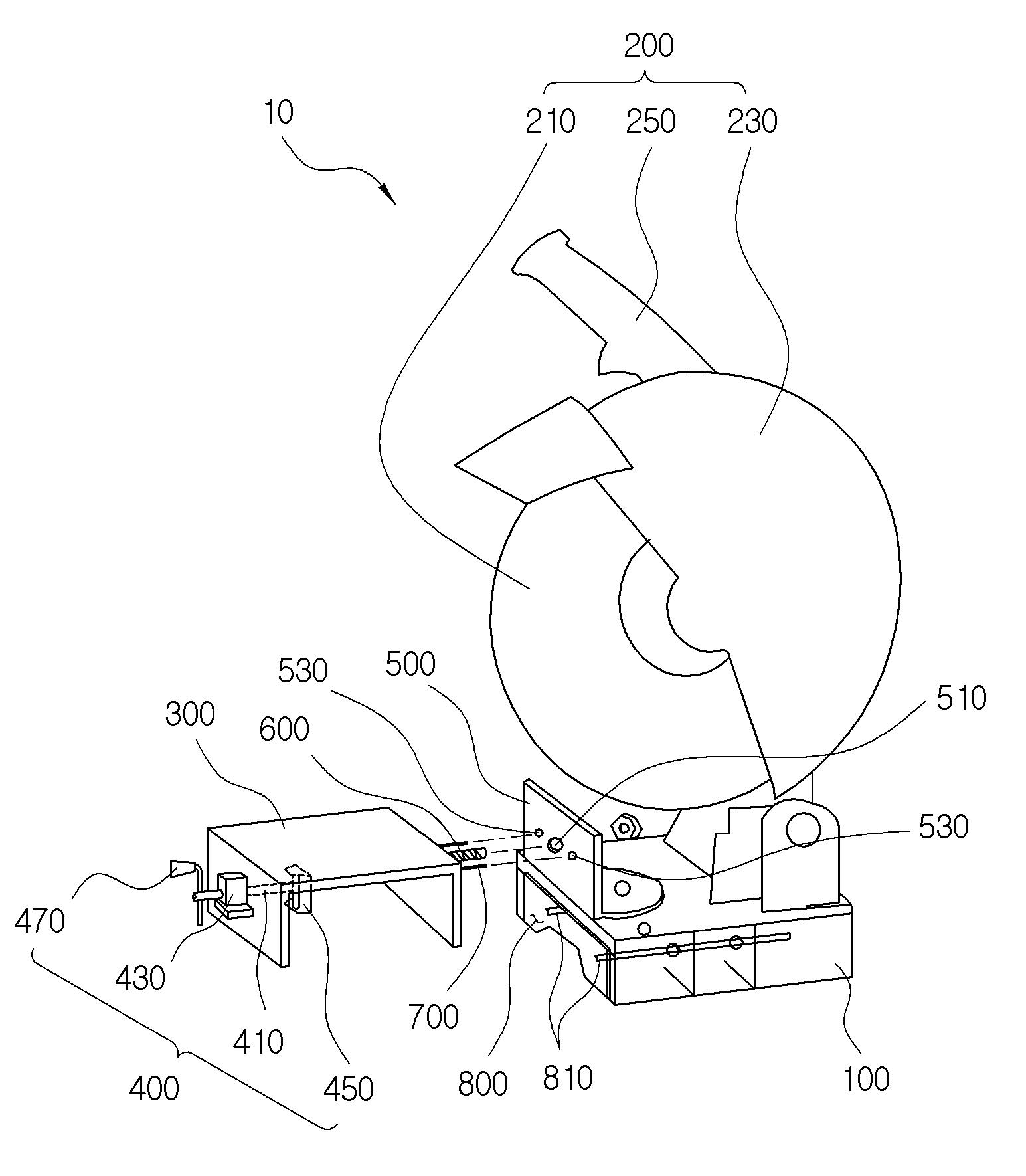
요약 : 본 발명에 따른 일 실시 예는, 피절단물을 절단하는 절단 장치로서, 절단기 바디부, 상기 절단기 바디부에 회동 가능하게 배치된 커팅부, 상기 절단기 바디부에 분리 가능하게 연결되며, 상기 피절단물의 적어도 일부를 감싸는 바이스 바디부, 상기 바이스 바디부의 일측에 배치되며, 상기 피절단물을 가압하여 고정하는 클램핑부를 포함하며, 상기 바이스 바디부는 상기 절단기 바디부에 연결되는 상기 바이스 바디부의 상하 전복에 따라 상기 피절단물을 상부에서 감싸거나, 상기 피절단물을 하부에서 감싸는 것을 특징으로 한다.
1020160108507






