출원번호 : 1020150022544 (2015.02.13)
등록번호 : 1016119530000 (2016.04.06)
출원인 : 조영서
출원인 설명 : 금액 협의 가능합니다.
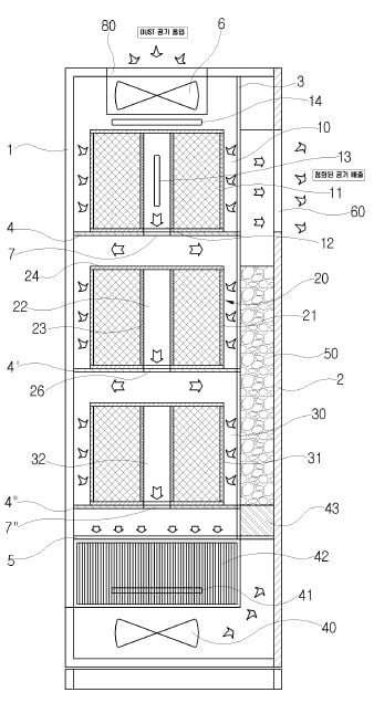
요약 : 본 발명은 흡연 부스의 실내 내부에 설치하여 사용하는 공기 정화장치에 관한 것으로, 상세하게는 흡연 부스에서 발생하는 연기를 흡입하여 악취와 연기 및 각종 이물질을 제거하여 깨끗한 공기를 실내로 배출할 수 있도록 한 흡연 부스용 악취 및 연기 제거방법 및 그 장치에 관한 것이다.
흡연부스





