출원번호 : 10-2020-0152024 (2020년11월13일)
등록번호 : 10-2262433 (2021년06월02일)
특허권자 : 한경대학교 산학협력단
요약 :
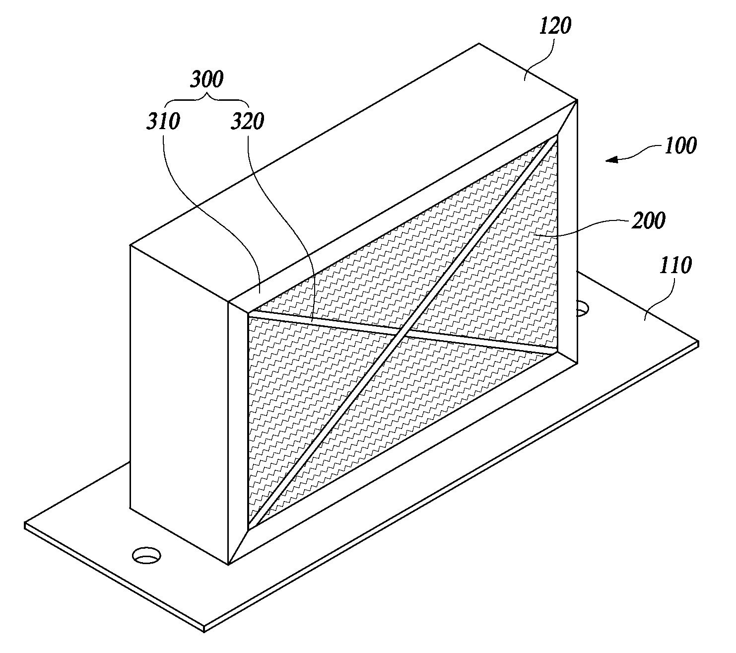
본 발명은 도로 설치용 그린월 미세먼지 저감시스템에 관한 것으로, 더욱 상세하게는 도로와 인도의 경계에 있는 경계석에 설치되며, 내부에 형성되는 필터모듈 장착부를 기준으로 양측으로 개방된 시스템 본체 및 상기 시스템 본체의 필터모듈 장착부에 착탈 가능하게 장착되고, 상기 공기 중의 미세먼지 및 유해물질을 흡착하여 제거하는 흡착제가 코팅된 흡착부재가 구비된 필터모듈을 포함하며, 상기 흡착제는 활성탄 분말에 폴리비닐알코올 용액을 혼합하고 교반하여 분말 활성탄 분산액을 제조한 후에, 상기 분말 활성탄 분산액에 콜로이달 실리카 및 전이금속 혼합하여 제조된다.
상기의 구조로 이루어지는 도로 설치용 그린월 미세먼지 저감시스템은 도로에서 발생하는 질소산화물을 흡착하여 우수한 미세먼지 저감효과를 나타낸다.





